粘接

粘接

2025年06期
  • 收藏
收藏成功
微博 空间 微信
《粘接》Adhesivemagazine,创刊于1980年,由武汉工程大学主管,武汉工程大学和湖北襄阳胶粘技术研究所联合...     展开

类型

月刊

类别

学术
定价
促销信息
全年订阅更优惠!
¥36.00 ¥21.69
目录

研究报告专论

去除环境空气中挥发性有机物的可再生活性炭吸附性能研究
摘 要:以核桃壳为原料,经过炭化、活化处理,结合三甲基氧基苯基硅烷的改性制备了可再生活性炭,并研究了其吸附环境空气中挥发性有机物的能力。试验结果显示,环境空气中挥发性有机物经过吸附后剩余量均未超过标准范围,对环境空气中挥发性物质吸附量较大;...
硅酮结构密封胶拉伸粘接强度与耐疲劳及耐久性研究
摘 要:硅酮结构密封胶应用在高层、超高层建筑的玻璃幕墙板块上,对较大板块的胶缝宽度超出JGJ102规范的设计要求。在安全系数不变的情况下,提高最大拉伸强度从而提高设计强度来减少胶层宽度方案的可行性,需考虑硅酮结构密封胶的耐老化性能和耐久性。...
一种新型档案装订用改性胶粘剂制备及性能研究
摘 要:为提高档案装订的牢固和耐久性,以木薯淀粉为主要原料,次氯酸钠为氧化剂,六偏磷酸钠为交联剂,氢氧化钠为糊化剂制备了一种新型档案装订用改性胶粘剂,试验首先对制备条件进行优化,然后对改性胶粘剂的基础性能进行分析。结果表明,当纳米结晶纤维素...
一种铁路灾害治理用高强轻质泡沫混凝土制备及应用研究
摘 要:为进一步提升泡沫混凝土的力学性能以及应用效果,通过复掺纳米 SiO2 和矿粉制备一种轻质高强泡沫混凝土,并对其抗压强度和影响效果进行详细分析。结果表明,与普通泡沫混凝土相比,单掺 2kg 纳米 SiO2 时的泡沫混凝土抗压强度为 1...
一种新型聚脲环氧修复砂浆制备及性能优化研究
摘 要:针对传统混凝土修复材料粘合结构性能差的问题,提出一种新型聚脲环氧修复砂浆的制备。试验首先对修复砂浆的配比进行优化,然后对修复砂浆性能进行研究,最后考察了修复砂浆对混凝土的修复效果。结果表明,聚脲环氧修复砂浆最佳配比为,聚脲用量为 1...
排水管道内粘附和悬浮颗粒沉积量影响及冲刷特性研究
摘 要:悬浮颗粒的沉积会导致管道内径的减小,降低排水能力,研究颗粒沉积冲刷特性对提高城市排水系统的安全性和可持续性具有重要意义。采用试验的方法研究了不同因素对排水管道颗粒物沉积量的影响规律。结果表明,随着水流流量的增加,管道内颗粒物沉积量先...
浇筑式沥青GA-10+SMA-10 与混凝土铺装层的结构力学研究
摘 要:在桥梁工程领域,铺装层的力学性能是确保桥梁结构安全和耐久性的关键因素之一。针对 GA-10+ 高弹性SMA-10组合铺装层的研究,本文通过ABAQUS构建“钢桥面板—铺装层”结构的三维实体模型,模拟了钢桥面板与 GA-10+SMA-...
低压缩永久变形CIPG 有机硅密封胶制备与性能研究
摘 要:研究了不同黏度端乙烯基硅油、硅氢基(Si-H)/乙烯基(Vi)摩尔比、MQ硅树脂用量及不同气相二氧化硅用量和改性剂对CIPG 密封胶产品性能的影响。结果表明,当端乙烯基硅油的黏度为 20 000MPa?s ,Si-H/Vi比值为1....
单双组分水性氯丁胶粘剂制备及性能比较研究
摘 要:分别制备了单双组分水性氯丁胶粘剂,探讨了双组分水性氯丁胶粘剂中主剂(A 组分)与固化剂(B组分)的配伍比对其剥离强度的影响。并对单双组分水性氯丁胶粘剂的性能进行比较分析。结果表明,当双组分水性氯丁胶粘剂的配伍比为氯丁胶乳(A组分)∶...
石墨烯改性数字雕刻用绿色涂料制备及性能比较研究
摘 要:为了提升数字雕刻用绿色涂料的电磁屏蔽性能,采用石墨烯对苯丙乳液进行了改性处理并制备了石墨烯改性苯丙乳液制备得到的涂料,对比分析了改性前和改性后涂料的结构、显微形貌、热稳定性和电磁屏蔽性能。结果表明,改性涂料在涂刷过程中刷涂无障碍、耐...
基于FTIR 跟踪的氰酸酯与环氧树脂共聚反应过程研究
摘 要:通过 FTIR 跟踪方法,研究了中低温条件下,模型物十二烷基氰酸苯酯与苯基缩水甘油醚的共聚反应过程,并通过内标法对各官能团相对浓度随时间的变化情况进行表征。结果表明,在100 ℃无催化剂条件下,氰酸酯与环氧树脂基本不发生反应,氰酸酯...
互为支撑全玻璃幕墙施工技术及施胶工艺优化研究
摘 要:互为支撑全玻璃幕墙施工技术研究依托于北京城市副中心图书馆幕墙项目,该项目为城市副中心未来地标性建筑,是国内已知高度最高、单块玻璃最重的互为支撑全玻璃幕墙。对互为支撑全玻璃幕墙施工技术的设计重点、技术难点、施工方案等进行重点介绍。结果...
超声检查用聚丙烯酰胺水凝胶配比优化制备及临床应用
摘 要:针对传统超声凝胶材料抗脱水能力差的问题,提出一种聚丙烯酰胺水凝胶耦合剂材料。试验首先介绍了聚丙烯酰胺水凝胶的配比优化情况,然后对水凝胶性能进行分析,最后对临床应用效果进行研究。结果表明,当玉竹提取液用量为 9% ,单体与引发剂配比为...
耐高温有机硅树脂与有机硅橡胶复配改性研究
摘 要:作为主要结构为Si—O—Si的杂链橡胶,有机硅具备许多优异的物理化学性能,比如:耐高低温、无毒害、耐候以及生理惰性等,其被广泛地应用于医疗、电子电气设备制造、建筑、化工乃至军事和航空航天领域。然而,随着时代发展,科技进步对于有机硅材...

材料科技应用

高温后纤维再生混凝土的力学性能试验研究
摘 要:对纤维再生混凝土进行了室温和高温( )处理,对比分析了室温和高温处理后纤维再生混凝土的外观形貌、质量损失率、抗压强度和劈裂抗拉强度。结果表明,从室温至 775°C 高温,纤维再生混凝土会从黑灰色转变为灰白色。随着温度逐渐...
混掺纤维对混凝土力学性能的影响探究
摘 要:本文以聚丙烯纤维及玄武岩纤维作为外加剂,将其掺入至混凝土中,以提高混凝土的力学性能。具体的,以 2% 的聚丙烯纤维、 .2% 的玄武岩纤维及 1% 的聚丙烯纤维 +1% 的玄武岩纤维掺入至基准混凝土,分析在自然环境、腐蚀环境、高温环...
再生砖混骨料配比优化试验与路用性能分析
摘 要:通过对砖混类再生骨料性能特征的深入分析,揭示了传统天然骨料及废旧混凝土再生骨料之间的差异性,明确了其性能指标及其变化规律。聚焦水泥稳定砖混类再生骨料配合比的优化设计,合理控制水泥用量、水灰比以及加入适量减水剂,结合混凝土抗压强度、劈...
不同纤维种类及掺量对沥青混合料路用性能的影响研究
摘 要:为评价不同纤维在沥青混合料中的最佳掺量,分析纤维对沥青混合料相关性能影响,选用不同纤维及AC-20C混合料进行研究。通过对不同纤维种类、不同纤维掺量的混合料开展配合比设计及相关路用性能试验得出,不同纤维随着掺量的增加大,混合料最佳油...
超细粉煤灰轻骨料混凝土制备与抗腐蚀耐久性探究
摘 要:使用超细粉煤灰制备轻骨料混凝土,结合干湿循环试验,研究其对混凝土抗腐蚀性能。借助SEM电镜观察腐蚀过程,试验结果表明:用超细粉煤灰配制的轻骨料混凝土,在其质量含量为 3%.5%.7% 的 Na2SO4 溶液时,其耐腐蚀性最大值分别为...
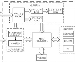
基于绿色环保的化工企业VOCs 排放特征比较研究
摘 要:通过对特定行业(表面涂装)企业进行调研和VOCs 采样检测,分析了企业的VOCs 排放特征及低VOCs含量原辅材料替代的环境与健康效益。结果表明:企业排放VOCs以芳香烃为主,替代后车间及有组织废气处理前后的总VOCs排放浓度分别为...
交通工程中的新型材料应用与结构创新设计研究
摘 要:本文全面探讨了交通工程中新型材料和结构设计的应用及其在提高道路安全性、耐用性和环境可持续性方面的作用。文章分析了多孔沥青、自修复沥青和高性能混凝土等新型材料的特性及其应用案例。同时,探讨了模块化设计、绿色设计等创新结构设计方法,并评...
碳纤维增强复材特性分析及在煤矿井下设备中的应用
摘 要:为了提升煤矿井下环境中纤维增强复合材料的摩擦磨损性能,研究了碳纤维质量分数对煤矿用碳纤维聚氨酯复合材料在干摩擦磨损、水润滑摩擦磨损和重载摩擦磨损条件下的耐磨性能,并分析了不同碳纤维质量分数下碳纤维聚氨酯复合材料的化学结构。结果表明,...
高速公路桥梁混凝土护栏复合涂层材料的耐久性研究
摘 要:为提高高速公路桥梁混凝土护栏的安全稳定性,延长其服役寿命,本试验以碳纳米管、水性环氧乳液和液态丁苯橡胶为主要原料,制备了一种复合涂层材料,并分析了液态丁苯橡胶质量掺量对复合涂层性能的影响。试验结果表明,当复合涂层中液态丁苯橡胶掺量增...
先进复材在航空飞行器上的应用及加工成形技术探究
摘 要:本文介绍了飞行器上先进材料的应用,并对材料在制备过程中的成形技术进行了探讨。分析了钛合金、铝锂合金、高温合金和复合材料在航空航天等飞行器领域的应用,并探究了飞行器领域中的先进成形技术,包括高能束流焊接技术、高能束流增材技术、超塑性成...
冻融循环对非水反应高聚物材料抗剪特性的影响研究
摘 要:本文通过圆筒扭转试验,测试了不同密度高聚物材料在不同冻融循环次数下的剪切强度,对剪切强度、密度、冻融循环次数进行非线性曲面拟合,采用扫描电子显微镜揭示了冻融循环对高聚物材料泡孔的损伤机理。结果表明:对于相同密度高聚物材料,随着冻融循...
呼吸机硅胶导管抗菌性能修饰及临床护理应用效果验证
摘 要:为提高呼吸机导管材料的性能和抗菌能力,提出一种亲水性和抗菌性的导管材料,并对导管材料的性能和临床应用效果进行探究。结果表明,当TEOS/KH560/MTES/Ag-TiO2的配比为15/6/1/1时,其稳定性、硬度和附着力达到最优,...
基于CAE 的变速器齿毂断裂原因分析及解决方案
摘 要:在法规认证试验中,基于计算或测量的载荷谱的变速器试验是评价齿轮轴和同步器性能是否合格的重要试验。同步器在换挡过程中承担传递扭矩,消除转速差的作用,是变速器最关键的零部件之一。针对某型号变速箱齿毂在试验过程中断裂失效现象,借助CAE分...
一种新飞机防火高分子复合材料制备与性能分析
摘 要:为提高飞机机舱内高分子材料的防火性能,减少高分子材料在燃烧过程中所释放的毒性气体。本研究以无水乙醇、酸性硅溶胶为主要材料,通过水解共混法制备出了一种高分子复合防火材料,并通过力学性能测试的方式在四乙基氢氧化铵、1,8-二氮杂双环[5...
碳纤维复合材料在加固混凝土桥梁中的应用研究
摘 要:碳纤维复合材料与混凝土之间的粘结性能会影响加固效果,同时,考虑到劣化层侵蚀作用,提出碳纤维复合材料在加固混凝土桥梁中的应用研究。处理桥梁混凝土基底,具体包括劣化层清理、裂缝填补等操作,采用具有抗腐蚀性能的三维碳纤维复合板,以环氧树脂...

化学化工资源

岩溶区不同石漠等级土壤-凋落物-植物生态化学计量特征
摘 要:为研究岩溶区不同石漠等级土壤-凋落物-植物碳氮磷生态化计量特征,对不同石漠等级土壤、凋落物、植物进行分析C、N、P 及C/N、C/P、N/P 生态化学计量比,并研究土壤、凋落物、植物C、N、P、C/N、C/P、N/P相关性。结果表明...
超超临界机组SCR 脱硝喷氨系统改造与技术优化
摘 要:对传统火力发电机组面临复杂的发电新形势,导致机组运行工况多变且不稳定,从而造成脱硝SCR入口速度场、浓度场等边界条件的不稳定问题。提出对脱硝进行流场重新校核,对喷氨格栅分区调平优化调整,应用多点测量和总量控制策略与分区控制策略等方法...
基于非接触式膜蒸馏技术的放射性废水处理系统研究
摘 要:在核工业发展中,产生大量放射性废水,传统处理技术存在诸多问题。一种非接触式膜蒸馏技术借助疏水性微孔膜两侧蒸汽压力差为驱动力进行膜分离,具有装置简单、操作条件温和、净化效果好等优点。本研究旨在探索非接触式膜蒸馏处理低水平放射性废水的优...
低碳经济背景下的煤矿综采机械设备防腐技术研究
摘 要:为了提高煤矿综采机械设备的运行效率,降低金属设备腐蚀的危害程度,需要针对煤矿综采机械设备腐蚀防护技术开展相应的研究。对比评价了不同温度、腐蚀介质矿化度和 pH 值条件下添加复合型缓蚀剂FHS-101和防腐涂层对煤矿综采设备钢材腐蚀防...
一种自动调整产液剖面的水平井控流设计
摘 要:水平井在开发过程中含水率上升速度快,严重影响了油田开发效率。本文分析了水平井筒流体特征与地层产液剖面影响关系,探索性的介绍了一种通过安装于井筒筛管“EACV + POV”阀组的控流装置,在生产过程中实现局部自动关闭径向汇流功能。经自...

发明创新试验

基于CNN-LSTM 的煤矿设备故障特征识别模型优化
摘 要:轴承是煤矿设备的核心零部件,特殊的服役环境导致其故障率高,进而影响企业的生产效率。传统煤矿轴承的故障特征识别准确率低,抗噪性能差,对故障发现不及时,给企业造成巨大的经济损失。结合长短期记忆网络在处理与预测时间序列上的优势以及卷积神经...
基于无人机技术的输电线路巡检跟踪控制系统仿真
摘 要:为提高输电线路巡检效率,以四旋翼无人机为研究对象,提出一种基于无人机技术的输电线路巡检跟踪控制方法。方法以无人机在有限时间内受速度限制跟踪期望轨迹飞行为控制目标,通过设计有限时间内位置控制器对无人机进行控制,实现了无人机对输电线路的...
基于多元数据融合的现场安全违章自动感知技术研究
摘 要:随着科学技术的快速发展,作业规范管控的要求越来越高,为了规范现场作业的制度,提高作业管控流程,建立新型安全管理方案,完善安全监管体系。本文通过随机森林算法的检测违章行为,设计人脸识别技术实现工作票智能管理方法,并利用OCR识别技术自...
基于一致性算法的新能源储能系统功率协调控制方法
摘 要:分布式的新能源发电备受人们青睐。但这些分布式新能源发电具有间歇性和随机性特点,对传统集中式电源调度管理系统的安全性和稳定性造成了很大的隐患。为能够有效解决分布式电源的随意性,相关研究人员提出了“微网”的概念,通过将新能源发电、储能装...
基于人工智能的数据表间关联关系自动识别技术研究
摘 要:针对识别表间关联关系困难且识别准确率低等问题。设计一种基于人工智能的数据表间关联关系自动识别方案。该方案首先采用傅里叶频谱变换技术对数据表进行预处理,并由HR-net神经网络实现数据表结构的识别。然后利用BERT模型提取表格文本文字...

工程技术优化

边坡下推力对边坡桥梁桩基土压力分布规律的影响研究
摘 要:为研究边坡下推力对边坡桥梁桩基的影响规律,本文依托西南山区某桥梁工程,通过室内模型试验,系统研究了边坡下推力对桥梁桩基的影响,从土压力、弯矩以及变形等角度揭示桥梁基础与抗滑桩的相互作用机理。数据模拟实验结果表明:(1)边坡的下推力主...
基于深度学习的核电站混凝土构筑物结构损伤检测研究
摘要:核电站混凝土构筑物的完整性检查对于安全运营至关重要。常规的人工检查方法存在效率低、部分区域不可达、数据不完整等问题。本研究基于深度学习的分类图像识别技术,结合四旋翼无人机,研究并实现了核电站混凝土结构表面缺陷的自动识别及数据分析系统。...
横向位移作用下桥梁桩基变形分析与加固处理技术
摘 要:为了提升桥梁桩基的使用寿命与稳定性,针对横向位移作用下桥梁桩基变形展开分析,并设计了桥梁桩基加固处理技术。构建桩基有限元模型,计算并分析横向位移作用下桥梁桩基弯矩和位移变形。在确定变形情况后,使用聚氨酯粉煤灰加固叠加隔离桩防护加固综...
基于图形语法的建筑平面智能设计方法研究
摘 要:为提高绿色环保材料的公寓式住宅建筑平面智能设计效率,提出一种基于公寓房间相邻关系自动生成平面图的框架,通过一组语法规则使用图文法形式从用户指定的绿色环保设计要求生成公寓户型平面布置方案。该解决方案克服以前只能生成矩形平面图的局限性,...
基于云-边协同的电作业人员行为识别算法
摘 要:随着电网对智能化要求的逐步提升,越来越多的变电站、输电线路等场景配备了专用的无人机用于安全巡检。通过搭载不同的处理器、传感器完成指定任务,无人机巡检展现出传统人工方法难以比拟的优势。然而,目前无人机本体的续航及机载处理器的性能仍难以...

智能设计检测

输变电施工现场安全监控系统精准度改进设计
摘 要:目前应用的施工现场安全监控系统没有对采集的数据进行清洗,导致数据中存在大量的脏数据,降低了系统的监控精准度和安全性。为此,改进设计了输变电施工现场安全监控系统。由交互平台、数据平台和无线传感网络基础平台构成安全监控系统的整体结构,并...
基于机器学习的变压器油色谱分析监测系统研究
摘 要:为提高对数字供电所变压器异常数据的识别准确性,提出一种基于气体关联分析的数字供电所变压器油色谱监测装置的偏差识别及系统搭建。首先,根据变压器油色谱监测装置中溶解气体的时序变化,采用滑动窗口算法对数据进行了曲线拟合;然后为实现数据符号...
基于BiLSTM-CRF 与BT 防误智能调控一体化平台设计
摘 要:针对传统发电调度模式难以满足目前调度需求而出现的各种弊端,调度过程中工作票人工审核存在效率低、风险高等问题。本文基于双向长短期记忆网络(Bi-directional Long Short-Term Memory,BiLSTM)-条件...
基于多元数据融合的输电线路风险因素分析及特征提取
摘 要:输电线路作为电力系统中关键的组成部分,承担着能量传输和供电保障的重要任务。由于外部环境、设备故障以及人为因素等多种风险因素的存在,输电线路的运行安全面临着严峻挑战。为了准确评估和预测输电线路的风险程度,本文提出了一种基于多元数据融合...
基于在线PID 技术的气体监测电缆故障预警系统设计
摘 要:电缆绝缘材料通常含有聚合物或橡胶等有机物,在长时间使用后会逐渐释放出挥发性有机气体(VOC),大多数VOC气体易燃易爆,浓度过高会引发电缆隧道内火灾和爆炸事件,进而导致电缆故障。为实现对电缆隧道内VOC气体的在线实时监测,本文研究了...
相关杂志
  • 中国商论

    中国商论

    2025年22期
    ¥17.49
  • 中外建筑

    中外建筑

    2025年10期
    ¥9.90
  • 河南科技

    河南科技

    2025年20期
    ¥6.00
  • 海洋开发与管理

    海洋开发与管理

    2025年05期
    ¥21.69
  • 计算机应用文摘

    计算机应用文摘

    2025年22期
    ¥9.00
  • 社会科学研究

    社会科学研究

    2025年06期
    ¥9.00
  • 现代信息科技

    现代信息科技

    2025年20期
    ¥18.00
  • 湖南大学学报(社会科学版)

    湖南大学学报(社会科学版)

    2025年05期
    ¥12.00
  • 中国调味品

    中国调味品

    2025年11期
    ¥0.00
  • 计算技术与自动化

    计算技术与自动化

    2025年03期
    ¥10.89
  • 民主与科学

    民主与科学

    2025年04期
    ¥3.39
  • 当代化工

    当代化工

    2025年10期
    ¥36.00
订阅全年后,您可享受以下权益
①该本杂志即日起至未来1年内所有更新电子版杂志的使用权限;
②赠送该杂志的部分往期的杂志的使用权限,有效期1年。

全年订购价格: ¥260.28

订阅全年
--%>

登录龙源期刊网

温馨提示:

1.点击网站右上角的“充值”按钮可以为您的账号充值

2.充值金额可以选择30,50,100或500元

3.充值成功后即可购买网站上的任意杂志或文章

还没有龙源账户? 立即注册

购买杂志

粘接

杂志价格:¥21.69元

  • 微信扫码支付
  • 当前余额:100.00

购买杂志

粘接

杂志价格:¥21.69元

  • 微信扫码支付
  • 当前余额:¥100.00

    去充值
monitor
客服机器人