关于一种液压泵阀耐久性试验方法的研究

打开文本图片集
Research ona Durability Test Method for Hydraulic Pumpand Valves
Liao LijuanWang NanLi Jianbo
(InnerMongolia North Heavy Industry Group Co.,Ltd.,Baotou,Inner Mongolia O14030)
Abstract:Thispaper introduces elaboratelythemethods fordurabilitytestsof"high pressureaxialpistonvariablepump" and"two-position four-way electro-hydraulicdirectionalvalve",which isof great guiding significance intheprocessof do mestic replacement of pumpsand valves.
Keywords:hydraulic pumpand valves; durability; test
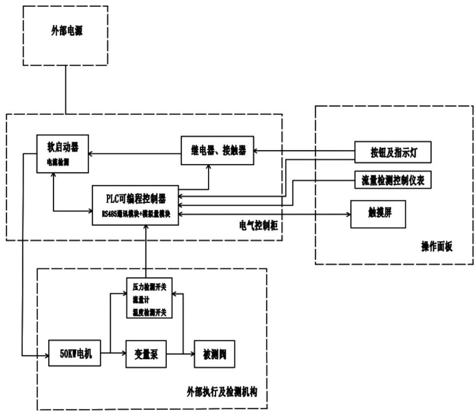
在国内工程机械、汽车车辆、航空航天等众多领域,都有液压泵、阀等关键部件的应用,其耐久性直接影响整个产品系统的可靠性和稳定性,现有的试验手段缺乏统一且精准的试验方法,存在一定的局限性,导致测量过程中存在人员劳动强度大、数据一致性差等影响试验过程和结果的因素,为解决上述问题,亟待探索一种更为科学、全面且具有极高实际应用价值的液压泵阀耐久性试验方法。(剩余3068字)