西部学刊

西部学刊

2025年17期
  • 收藏
收藏成功
微博 空间 微信
《西部学刊》创刊于2013年,是经中华人民共和国新闻出版总署批准,由陕西出版传媒集团主管、主办的面向中国国内外公开发行的...     展开

类型

半月刊

类别

学术
定价
促销信息
全年订阅更优惠!
¥15.00 ¥6.00
目录

中国人民抗日战争暨世界反法西斯战争胜利80周年研究

全民族抗战时期中国共产党开展调查研究的三维探析
摘要:全民族抗战时期,为了有效转变党的作风、推进马克思主义中国化、最终夺取抗日战争胜利,中国共产党十分重视开展调查研究工作,以解决革命现实问题为调研导向,党员领导干部带头和群众参与形成调研合力,通过成立调查研究局等机构,建立健全组织制度,运...

西部研究

文化记忆视角下的四川红色工业遗产思政教育价值评估与转化路径
摘要:红色工业遗产作为承载革命历史记忆与工业发展历程的重要文化资源,具有显著的思想政治教育价值。以文化记忆理论为基础,通过构建一套包括历史原真性、教育适配性和空间可达性三个一级指标的红色工业遗产思政教育价值评估体系,对四川省三线建设时期的2...
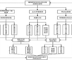
社区社会组织参与边疆民族地区基层社会治理探究
摘要:随着我国边疆民族地区社会结构日趋复杂,基层治理面临诸多新挑战,社区社会组织作为治理主体之一,其发展状况和参与治理效能备受关注。以新疆K市Y村为个案调查社区社会组织参与边疆民族地区基层治理现状,调研发现社区社会组织参与基层社会治理取得了...
内江夏布艺术品产业链助力文化传承与发展刍议
摘要:夏布艺术品产业作为地方特色文化产业的典型代表,不仅承载着厚重的历史文化底蕴,更在当代乡村发展中扮演着关键角色。构建内江夏布艺术品产业链有利于夏布非遗文化的保护与传承、创新与发展、传播与推广,但在内江夏布艺术品产业链助力文化传承协同发展...
甘肃省中医药文化旅游资源开发和利用的现状与前景
摘要:甘肃省中医药文化旅游资源较为丰富且分布广泛,现有开发模式包括景区依托、产业融合、医疗服务嵌入等模式,以及组织中医药文化节和学术研讨会等活动,存在的问题主要是开发深度不足、基础设施配套不完善、专业人才匮乏,以及资源整合难度大、营销手段单...
《支格阿鲁》中的蒲嫫妮依纺织叙事研究
摘要:在《支格阿鲁》中,蒲嫫妮依的生命历程与纺织密切相关。蒲嫫妮依发明纺织术前后的时空场域和叙事情节隐喻人类社会从神的时代向英雄时代、人的时代演变。蒲嫫妮依纺织叙事建构了彝族女性的形象特征,进一步表现出彝族社会男耕女织的分工结构,但遮蔽了女...
广西地区高职生职业期望与家庭资本:现状、关联及措施
摘要:职业期望是推动个体提升职业能力的关键动力。研究发现,广西地区高职生家庭经济资本薄弱,文化资本有限,社会资本不足,这些因素导致其在经济稳定和个人发展方面有较高的期望。经济资本薄弱的高职生更关注经济稳定性和个人价值的实现;文化资本有限的家...

政治

建设中华民族现代文明的若干关系论析
摘要:中华民族现代文明是面向国内外传播的中国化时代化马克思主义鲜明标识,亦是中华文明在当代中国时空场域的实践展开。作为中国自主知识体系概念群中的重要概念,中华民族现代文明与其他学术概念差异难辨,需系统辨析其与既有学术概念的逻辑关联,以便彰显...
毛泽东国家安全思想的生成逻辑、核心要义及重要启示
摘要:毛泽东国家安全思想是中国共产党在复杂的国内外环境中形成的理论成果,其生成逻辑根植于马克思主义基本原理与中华优秀传统文化,强调自立自强、经济强国、文化自信和外交自主等多维度的国家安全理念。这一思想蕴含的斗争精神和人民至上的价值取向,为新...
共产主义话语中女性解放的应然与实然路径
摘要:马克思主义经典作家构想的女性解放蓝图,与二十世纪上半叶中国革命运动中的女性解放实践之间,存在应然与实然的差别。在马克思、恩格斯看来,女性真正的解放应立足于生产领域,通过经济独立实现根本性变革。而在中国,由于受到“五四”新文化运动思潮影...
《哥达纲领批判》中的马克思主义党建思想及其借鉴价值
摘要:《哥达纲领批判》自问世已届150周年,马克思借此阐述了他对即将合并的德国社会民主党起草的《德国工人党纲领草案》的批评意见,旨在引导工人们认清拉萨尔机会主义的危害。作为马克思主义党建思想的纲领性文献,《哥达纲领批判》强调,在建设马克思主...
基于马克思主义哲学的社区治理创新策略
摘要:在中国城市化进程加速与社区治理现代化深入推进的背景下,传统社区管理模式难以适应多元主体协同治理需求,亟须探索创新路径。聚焦当前社区治理中存在的多方协同不足、行政化倾向显著、居民参与不足及技术依赖过度等问题,以马克思主义哲学为指导,运用...

哲学

《道宣律师感通录》与“天人感通”观
摘要:《道宣律师感通录》通过“天人感通”叙述模式,试图强化佛教信仰。该书通过天人对话构建人神交流框架,阐述佛像塔寺祥瑞、戒律等,以彰显佛法智慧与因果报应。其中天人授意下的戒律阐释与护法形象构建,不仅是佛教中国化的本土表达,更通过韦陀信仰的定...
共同体思想的演进与跃升
摘要:自由与和平是人类的永恒追求,德国古典哲学的共同体思想从个人自由的讨论出发,在追求人类和平中展开。康德试图通过理性的推动使国家联合为国际联盟,实现永久和平。费希特运用法权理论明确国家和联盟的权利义务。黑格尔发现了前述理论的虚幻性,却主张...
马尔库塞消费异化理论及其现实价值
摘要:马尔库塞认识到资本主义社会生产力快速发展后,在消费领域产生新的压迫,由此在马克思劳动异化理论的基础上提出消费异化理论。马尔库塞揭示了消费异化的根源、实质和危害,并提出了一条通过“艺术革命”扬弃消费异化的道路。这一理论对于人们认识消费现...

法律

债务人异议之诉的理论基础与程序完善
摘要:我国民事执行程序缺乏对债务人实体权益的有效救济机制。通过比较法研究,论证设立债务人异议之诉的必要性与可行性:现行执行异议、再审、另行起诉等方式存在功能缺陷,而德国、日本及我国台湾地区的成熟立法例可资借鉴。研究明确该诉本质为兼具排除原执...
国际金融监管框架下中国公司法的发展挑战与应对
摘要:在金融全球化浪潮中,国际金融监管迈向新阶段,监管规则不断更新。在此背景下,中国公司法历经多次修订,在规范公司行为、保障市场秩序等方面发挥着关键作用。但国际金融监管的动态变化,使中国公司法面临新的挑战:中国公司法与国际监管规则有差异,增...
当代农村女性就业平等权的法律保障研究
摘要:农村女性就业平等权是社会公平的重要体现,保障其法律权益对促进经济、社会和谐发展具有重要意义。以农村女性就业平等权的法律基础为切入点,分析了宪法、劳动法及妇女权益保障法为其提供的法律依据,并探讨了农村女性在就业机会、薪资待遇、职业发展及...
法医证据链管理的法律保障措施刍议
摘要:当前我国的法医证据链管理具备基础的法律框架,但存在法律规范与实际操作差异显著、法律监督与审查不足、专业人员教育培训机制的缺失等问题,急需通过完善相关法律体系、夯实监督审查基础和深化专业人员法律素养提升等方式完善法医证据链管理体系,维护...

教育

应用型本科高校学业评价的范式创新
摘要:针对应用型本科高校学业评价体系中存在的目标错位、指标同质与技术滞后等深层矛盾,提出“1234”学业评价创新模型。该模型以培养契合产业需求的应用型人才为核心目标,构建集体赋能与个体成长双层指标体系,实施课程目标、毕业要求与培养目标三级达...
“45度青年”群体成因及艺术场域视角下的引导策略
摘要:“45度青年”群体是近年来引起新闻媒体关注的一种特殊青年群体现象。该群体是青年对于低压力生活环境的追求和向往,也是一种对于生活环境的主观映射。其产生的原因与青年成长的文化环境变化、社交方式的改变以及时代变迁、青年群体观念演变都有关系。...
高职学生手机依赖与强迫症状研究
摘要:为了调查高职学生手机依赖与强迫症状的现实情况及其相互关系,采用手机依赖指数量表及强迫修订量表对浙江省某高职院校1217名学生进行调查并对数据进行分析。结果显示:有 8.1% 存在手机依赖的问题(MPAI总分 ?51 分),有 11.3...
论AI大模型视域下的电子信息类专业复合型人才培养模式
摘要:人工智能(AI)大模型技术的快速发展,加快着以电子信息为代表的“新工科”专业的建设进程。目前电子信息类专业人才培养存在教学内容滞后、多学科交叉不足、实践创新能力薄弱等问题。近年来AI大模型已演变成具有海量知识和内容生成能力的教学工具,...
儒家礼乐文化融入高校美育课程思政的实践探索
摘要:儒家礼乐文化是中华优秀传统文化的代表,将其融入高校美育课程思政有助于培养学生的审美素质与道德情操。儒家礼乐文化包含精神、行为、物质三个层面。课程内容从三个维度进行编排,即作为思想层面的礼乐精神、作为行为层面的礼仪、作为物质层面的礼器。...

历史

乡村治理视域下的苏区群众组织化改造
摘要:传统乡绅政治的衰败导致赣西南和闽西地区的乡村陷入失序状态,这对新生的苏维埃政权提出了乡村治理的挑战。中国共产党通过宣传教育、农村武装和群团组织等手段,使党领导下的群众力量呈现出与政权架构高组织性特点同调的状态,这种组织化的群众力量将原...
土地革命战争时期中央苏区经济建设及其历史经验
摘要:土地革命战争时期,经济建设是中国共产党在创建和巩固中央苏区过程中一项重要的工作内容,是解决红军给养问题的需要,也是适应“工农武装割据”革命形势的需要。其主要内容有:重视农业生产、发展工业生产和促进对外贸易,在经济建设方面取得了显著成就...
宋代边防策略探析
摘要:两宋由于失去幽云十六州,执行守内虚外、重文抑武的基本军事战略,实行长期被动防御的边防策略,导致最终亡国,但其总结的防御思想和实施的防御战略却有可道之处。“全民防御”策略的要点是招募当地的土兵、训练义勇以加强边防,实施军民合一、共御敌侮...
试析近代日本思想家陆羯南的地方自治论
摘要:陆羯南是日本明治时期著名的报人和思想家,国内外学界对他的思想和主张进行了多层次多方面的研究。他基于对地方自治的重视,提出了与“国民主义”相关联的地方自治论,对地方自治与地方分权做了非常严格的区分,把地方自治制度与立宪政治放在同一高度,...
论清代乾隆朝宫廷太监逃走问题
摘要:清朝入关后对太监订立严格的管理制度,避免重蹈明朝因太监干政而亡国的覆辙。至乾隆朝,有的太监因无法忍受严格管理、残酷刑罚、经济贫困和工作繁重等原因选择逃跑。逃走后,太监境遇悲惨,难以融入社会,甚至走上犯罪道路。清朝采取了侧草、发遣边疆等...
十九世纪下半叶爱尔兰女性犯罪及其治理
摘要:十九世纪下半叶是爱尔兰社会发生急剧变化的一个时期,1845—1849年爱尔兰爆发的史无前例的大饥荒使这一时期各种社会矛盾和问题不断浮现,女性犯罪率攀升是当时的社会矛盾之一,杀婴和暴力犯罪是女性犯罪最常见的形式。在杀婴案中,女性嫌疑人多...

文艺与文化

象似性对李白诗歌音美和意美的构建
摘要:诗人在创作过程中对象似性理论的有意应用可增强诗意表达。李白作为盛唐浪漫主义诗歌的代表人物,其诗歌中阴性字和阳性字的使用、韵脚的选择与诗歌意境、主观情感契合贯通,体现出语音象似的特征,极大强化了诗歌的音美。李白诗歌中词语的语法重叠和修辞...
试论李商隐对庾信用典的接受
摘要:从接受学的角度讲,李商隐对庾信用典的手法有着充分的承袭。李商隐对庾信诗文中的事典、语典运用颇繁,庾信本人亦是李商隐用典的材料。从意蕴层面分析,因二人相似的生平遭际,李商隐对庾信典故中的意蕴多有接受,“悲哀”既是二者间的情感津梁,亦是二...
日本设计师河野鹰思平面设计作品的视觉风格探析
摘要:河野鹰思是日本第一代设计师中的代表性人物,被誉为日本图形设计的启蒙人,对日本现代设计界产生了深远的影响。河野鹰思的平面设计作品充满鲜明的个人特色和艺术感染力,表现为图形符号化、色彩浓郁化以及整体版式多样化。河野鹰思为日本平面设计注入了...

传播

巧妙的“折中”:符号学视域下ReelShort言情微短剧的转文化叙事
摘要:以RelShort为代表的中国流媒体平台凭借生产言情微短剧而广受欢迎,日益成为影视产业“出海”的新增长极。从符号学视域出发,围绕中国传统言情符码与西方社会语境这一“类项”的合理替换“爽文学观”和“二元对立”逻辑下“符序”的艺术编排、跨...
历史分期视野下新闻伦理法规的适应性与适用性
摘要:不同历史阶段新闻伦理法规的适应和适用是不同的。新闻传播事业史在中国新闻传播学发展中具有工具性价值,新闻史学分期的意义在于对已经发生的事情的重视并做出价值判断。新闻伦理法规的生发基础是信息传播需求的根本确立,来自于对新闻传播事业史的认识...
人工智能时代新闻传播学教材改革路径探析
摘要:人工智能技术在新闻传播行业的广泛应用,使得新闻生产环节从人工采写转向智能化协同,内容分发环节从“人找信息”转向“信息找人”,这一进程在带来技术红利的同时,也伴随着伦理风险挑战。然而,既有的新闻传播人才能力结构已难适配智能时代新需求,存...

语言、社会、经济

中外博士学位论文摘要中自我指称语的身份建构比较研究
摘要:博士论文摘要在学科知识建构与学术身份塑造中扮演着重要角色。基于自建QS前100位高校外国语言文学专业博士论文摘要语料库,采用Hyland与Flotum等的框架,比较分析中外博士生自我指称语的使用及身份建构。结果表明,中国学者偏好隐性指...
“好母亲”的身份:母职研究述评
摘要:围绕母职理论考察其提出的背景与意义,述评母职研究在西方女性主义研究中的变迁。在西方女性主义发展历程中,母职研究从批判母职制度转向重构母职实践,强调母职内涵的多元性与社会文化情境的复杂性。二十世纪后半期,“好母亲”形象在密集母职和新妈妈...
东北三省数字普惠金融对新质生产力的影响探析
摘要:基于2011—2022年东北三省34个地级市面板数据,通过构建数字普惠金融水平与新质生产力水平的指标体系,围绕数字普惠金融对新质生产力的影响展开讨论。研究发现东北三省数字普惠金融能够显著提升新质生产力水平,但不同的省份影响力有所不同,...

神州学人

学界翘楚胡卫红
胡卫红,女,毕业于南开大学,现任马工程重点教材办公室主任、编审。从事高校教材出版和研究工作20余年,重点参与组织修订的6本高校思想政治理论课教材(2018年版)荣获“首届全国教材建设奖全国优秀教材特等奖”,担任其中《中国特色社会主义理论与实...
学术中坚 张静
张静,女,四川邻水人,法学博士,北京航空航天大学副教授、硕士研究生导师、马克思主义学院思想道德与法治教研室副主任。获得教育部“高校网络教育名师”人才称号,系教育部学习宣传党的二十大精神全国高校师生巡讲团讲师、网络育人名师工作室(北航)主持人...
相关杂志
  • 中国商论

    中国商论

    2025年19期
    ¥17.49
  • 中外建筑

    中外建筑

    2025年08期
    ¥9.90
  • 河南科技

    河南科技

    2025年18期
    ¥6.00
  • 海洋开发与管理

    海洋开发与管理

    2025年01期
    ¥21.69
  • 计算机应用文摘

    计算机应用文摘

    2025年19期
    ¥9.00
  • 社会科学研究

    社会科学研究

    2025年05期
    ¥9.00
  • 现代信息科技

    现代信息科技

    2025年16期
    ¥18.00
  • 湖南大学学报(社会科学版)

    湖南大学学报(社会科学版)

    2025年05期
    ¥12.00
  • 中国调味品

    中国调味品

    2025年10期
    ¥0.00
  • 计算技术与自动化

    计算技术与自动化

    2025年03期
    ¥10.89
  • 民主与科学

    民主与科学

    2025年04期
    ¥3.39
  • 中国检察官·司法实务

    中国检察官·司法实务

    2025年09期
    ¥7.59
订阅全年后,您可享受以下权益
①该本杂志即日起至未来1年内所有更新电子版杂志的使用权限;
②赠送该杂志的部分往期的杂志的使用权限,有效期1年。

全年订购价格: ¥144.00

订阅全年
--%>

登录龙源期刊网

温馨提示:

1.点击网站右上角的“充值”按钮可以为您的账号充值

2.充值金额可以选择30,50,100或500元

3.充值成功后即可购买网站上的任意杂志或文章

还没有龙源账户? 立即注册

购买杂志

西部学刊

杂志价格:¥6.00元

  • 微信扫码支付
  • 当前余额:100.00

购买杂志

西部学刊

杂志价格:¥6.00元

  • 微信扫码支付
  • 当前余额:¥100.00

    去充值
monitor
客服机器人