基于智能问答系统的网络教学交互研究

打开文本图片集
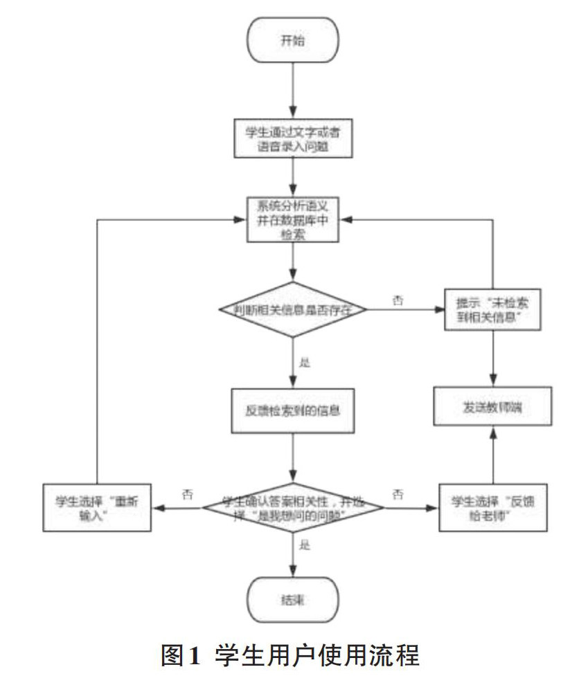
摘要:针对现有网络教学中师生交互效率低,教学系统难以达到高质高效教学效果的难点,文章提出了一种基于智能问答系统的网络教学交互系统。该系统通过允许学生/教师自定义聊天参与者,交互数据可沿用进入知识图谱,设置实时提醒以及未回答消息提醒,相关热门问题推荐,个性化学习导图等功能提高网络教学交互效果。
关键词: 智能问答; 网络教学; 交互; 系统设计; 混合式教学
中图分类号:TP393 文献标识码:A
文章编号:1009-3044(2022)22-0124-04
智能问答系统从起步到现在,已经在电商、医药等行业取得了广泛应用。(剩余6071字)