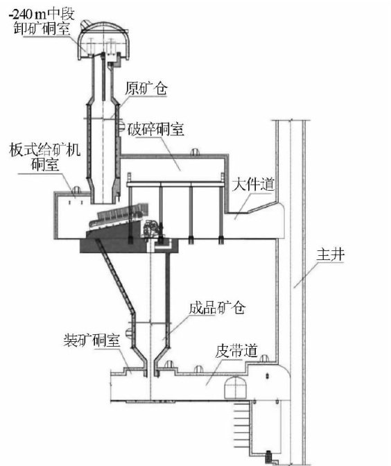
金属矿山地下溜破系统多水平快速施工实践

打开文本图片集
中图分类号:TD263;TD214 文献标志码:B 文章编号:1004-4345(2025)06-0011-05
Abstract The construction ofore-passand crusher systems isa criticalphase during the infrastructure development of metal mines,with itsshedulediectlyimpactingteoverallineconstructiontimelne.Addresing thechallengesofaspecificminsr passandcrushersystem-characterizedbystructuralcomplexity,multi-levelspatialintersections,anddificultconstruction organization-thisprojectsuccesfullyimplementedaseriesof tecnicalmeasureseseincludedexcavatingthedeclinestocoect diferentlevels,optimizing theconstructionsequence toenableparalelmulti-leveloperations,andcomprehensivelyutilizing mechanizeddrllingandsupportequipmnt,aisebongpiotoledrilingndraming,lyeredandblockexcavationandsupptfor largechambers,andsegmentedpouringoforebins.Theetiresystem,comprsingtheunloadingchamber,rusherchamber,rawore bin,finishedorebin,andloadinghamber,wascompletedsafelyandeficiently.Thepracticedemonstratesthatthiscostruction organizationandkeytechnologypackageefectivelyshortenedtheprojectduration.Thesystemwascompletedandcommencd stable operation43daysaheadofschedule,providingavaluableengineringreferencefortherapidconstructionofore-passandcrusher systems under similar conditions.
Keywordsore-passand crusher system;multi-levelconstruction;crusherchamber;unloadingchamber;raise boring machine
溜破系统是地下矿山基建期与生产期的关键工程,其建设质量直接关系到矿山生产系统的效能,并最终影响整个矿山的生产能力。(剩余6041字)