市域铁路斜拉桥边墩-梁-塔临时固结体系温度效应分析

打开文本图片集
中图分类号:U445.46;TP391.99 文献标志码:B
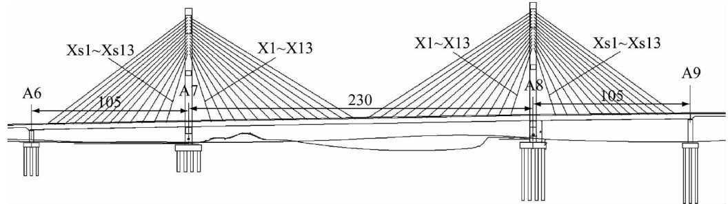
Abstract: To analyze the impact of thermal effcts on the construction control accuracy of long-span bridge,taking a double-pylon,double-cable-plane cable-stayed bridge with a 23O m main span as an example.The structural response characteristic under uniform temperature difference and solar-induced vertical temperature gradient is examined during the maximum cantilever stage,when a temporary consolidation system connects pier-girder-pylon consolidation. A detailed finite element model of the entire bridge is established in MIDAS Civil,and construction phases are simulated according to the actual erection sequence.The sensitivity of girder stress,vertical deflection,and cable forces to thermal loading is analyzed. The results show that the height of the lower pylon column is significantly influenced by uniform temperature diference,whereas the ffect under solar-induced gradient thermal loading is negligible.Compared to solar radiation thermal loads,the variation in cable force and girder deflection in cable-stayed bridges are primarily influenced by uniform temperature differences. The normal stresses in the cantilever girder segments are increased by solar-induced temperature gradient heating.No vertical relative displacements is induced by solar thermal loading at the maximum cantilever position of the girder.
Key words: railway bridge;thermal effcts; finite element;cable-stayed bridge; temporary pier-girder-pylon consolidation;maximum cantilever state
0 引言
为保证设计的大跨径桥梁成桥线形,需对施工阶段各控制参数进行精确调整。(剩余6867字)