家用莴苣削皮切片一体机的设计

打开文本图片集
中图分类号:S226.4 文献标识码:A 文章编号:2095-2953(2025)08-0051-04
Design of a Household Integrated Lettuce Peeling and Slicing Machine
ZHAO Zi-yi,CHEN Jia-yang,LIU Fang-yi,TULe-yi, JIN Xi-ai,WU En-qi (Schoolof MechanicalEnginering,Universityof ShanghaiforScienceandTechnology,Shanghai 2O93,China)
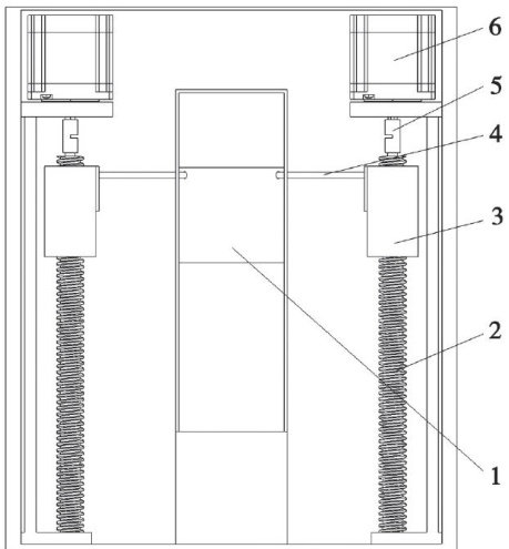
Abstract:This paper designs a household integrated lettuce peeling and slicing integrated machine,aiming to improve the eficiency and convenience of lettuce processing in the home kitchen. The machine integrates the functions of letuce peeling and slicing.Ituses double-rolerlead screw shafts for feeding,three sets of annularlydistributed blades toachieve peling,and one set of rotating blades to complete slicing.By adjusting thecutter head,it can adapt to he procesing requirements of lettuces of different specifications,ensuring that uniform slices and neat appearance.The experimental results show that this integrated machinecan not only peel and slice letuce,but also handle rod-shaped vegetables with a diameter of 30-60 mm and a length of 100-40O mm, such as cucumbers and Chinese yams,thus improving the working efficiency of the home kitchen.
Key words:lettuce;integrated peeling and slicing machine;household
莴苣营养丰富,清香爽口,肉质嫩,茎可生食、凉拌、炒、干制或腌渍罐装,是一种常见的蔬菜[1]。(剩余3311字)