基于YOLOv8n的罂粟识别改进算法研究

打开文本图片集
中图分类号:TN248.4;TN918.91 文献标识码:A文 章 编 号:1673 9868(2025)06 0201 12
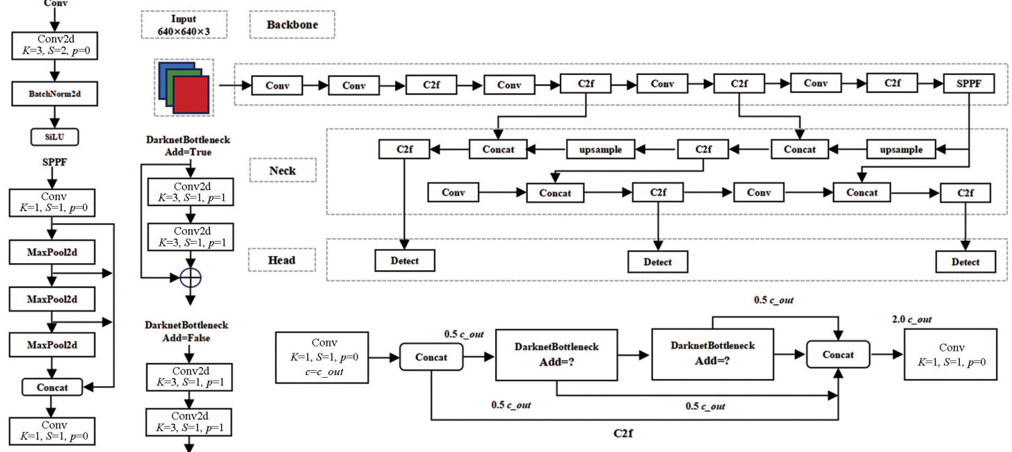
Abstract:Aimin atthe roblemsofsmalobectreconition,comlexbackround,andrelativescaleof targetobjectchangeinpopydetectiontaskmodel,apopyrecognitionalgorithmimprovementstrategy basedonYOLOv8nwasproposed.Inimprovedalgorithm,firstly,theiRMBatentionmechanism was introducedtoenhancetheabilitytodetectsmaltargetsofpopy.Secondly,theupsamplemodulewas replacedwiththeCARAFEupsamplingoperatortoimprovetherecognitionrateofpopyincomplexbackgrounds.Finaly,thelosfunctionwasreplacedfromCIoUtoMPDIoUtocopewiththerelativescalevariationofremotesensingtargetsofpopy.Thestudyfoundthattheimprovedpopyrecognitionalgorithm basedonYOLOv8ncanincreasethemAPoftraditionalYOLOv8nalorithmfrom 83.1% to86. 6% ,of which the AP of popy fruit recognition increased by 1.0 percentage point, and AP of popy stamen recognitionincreasedby6.1percentagepoints.TheimprovedYOLOv8nrecognitionalgorithmenhancedthe comprehensiveperformanceofpopyrecognition.
Keywords:popyrecognition;algorithmimprovement;YOLOv8nalgorithm;atentionmechanism
国家高度重视毒品预防、管控和打击工作。(剩余10901字)