物联网技术

物联网技术

2025年20期
  • 收藏
收藏成功
微博 空间 微信
《物联网技术》杂志是经国家新闻出版总署批准的,目前国内唯一同时具有国际和国内CN刊号的物联网专业科技期刊。主要介绍基于物...     展开

类型

半月刊

类别

学术
定价
促销信息
全年订阅更优惠!
¥20.00 ¥12.00
目录

资讯博览

视点
AI 阿里团队发布全新终端智能体iFlowCLI 阿里巴巴心流研究团队正式发布全新终端智能体iFlowCLI,面向个人用户永久免费开放。用户可通过自然语言命令在终端上直接执行任务,从而实现从文件整理到复杂工作流程的全面自动化。 可灵2.5T...
全自动化光纤拉锥领军者
摘要:本项目设计了一套全自动化光纤熔融拉锥机,专用于光纤耦合器的生产制造。该装置采用自动控制、数据采集、通信技术以及传感器技术等工业控制技术,实现了送纤、切纤、剥纤、清洁、拉锥、点胶封装等多工位全自动化操作。结合光倏逝场理论模型和数据库,进...

学术研究

基于PCT-YOLOv8的BoT-SORT车辆多目标跟踪方法
摘要:针对目前车辆进行多目标跟踪任务中因遮挡和小目标漏检导致目标身份信息丢失的不足,文章以BoT-SORT为基础算法展开研究。首先引入车辆重识别模型,以ResNet50为主干网络进行训练,使模型更关注目标关键信息,提取更有效的特征,然后采用...
基于STM32的非侵人式电力负荷监测与识别技术研究
摘要:文章针对传统电力负荷监测技术的不足,开展了非侵入式负荷监测与识别技术研究,提出了一种基于云服务器的广域开放式系统架构,采用“主题发布 + 用户订阅”的方式实现数据共享。设计了非侵入式电力负荷监测系统,主控制器和智能电表之间基于DL/T...
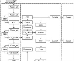
面向嵌人式设备的轻量化目标检测算法研究
摘要:针对大模型在移动设备上部署困难的问题,文章以YOLOv5s算法为基础,主要从主干网络、颈部网络及损失函数三个方面进行改进,提出一种轻量化的目标检测网络模型,在降低模型参数量的同时保证精度。由于YOLOv5s主干部分的参数量较大,所以主...
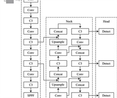
基于YOLOv11的太阳能板表面灰尘覆盖检测系统研究
摘要:西北地区太阳能板容易被灰尘覆盖导致发电效率下降,针对太阳能板表面灰尘的高效检测需求问题,文章提出一种基于YOLOvl1的太阳能板表面灰尘覆盖程度检测方法。在YOLOvl1主干网络中采用C3k2模块代替了C2f模块,以提高计算效率;在S...
基于联邦卡尔曼滤波的多传感器数据融合实验设计
摘要:在物联网工程专业嵌入式系统的教学过程中,讲授多传感器数据融合的难点在于模型设计和融合算法的选择。为了提高学生对多传感器数据融合概念的理解,在嵌入式系统实验教学过程中设计了基于S5P6818开发板的多类传感器数据同步采集模型,并采用联邦...
基于STM32的环境气体检测系统设计
摘要:针对特殊工作场所存在的环境气体监测需求,文章设计了一种小型化、可移动的气体检测系统,以保障作业人员安全及工作流程顺利进行。采用STM32F103RCT6作为主控芯片,集成高精度温湿度、 O2 、 H2S 、Co及 CO2 等传感器模块...
尾矿库安全监测系统智能化升级改造
摘要:作为高危工业设施的尾矿库存在溃坝风险,传统的监测方式自动化程度低、数据时效性差,难以适应现代化矿山安全监测需求。本研究以河南省智能化尾矿库建设政策为导向,针对中州铝业新庄沟与台马沟深峡谷尾矿库的特殊地质构造与堆存工艺风险特征,通过部署...
基于物联网的电气自动化设备运行状态远程监控
摘要:电气自动化设备运行状态多变,其产生的信号及特征复杂难以准确提取,导致设备运行状态监控结果不够精准。为此,文章提出了一种基于物联网的电气自动化设备运行状态远程监控方法。该方法以高性能物联网嵌入式单片机作为核心采集部件,依托其内置芯片全方...
基于LoRa无线中继网络技术的深基坑环境监测系统的设计与实现
摘要:文章设计了一套基于LoRa中继组网的深基坑环境监测系统。该系统通过创新的多级网络架构、超低功耗硬件设计和定制化通信协议,在深基坑环境中实现了振动、温度等关键参数的实时稳定采集与传输。该监测系统显著降低了部署成本并提升了管理效率,为复杂...
基于河马优化算法的无线传感器网络覆盖研究
摘要:在无线传感器网络中,节点的合理部署对于提高网络覆盖质量和延长网络寿命至关重要。传统优化方法在解决此类问题时,普遍存在易陷入局部最优解、计算复杂度较高的缺陷。河马优化算法作为一种新兴的元启发式算法,具有出色的全局搜索能力和较快的收敛速度...
基于电磁超表面的多波束透镜天线研究
摘要:文章旨在研究基于电磁超表面的多波束透镜天线的设计方法,且对其在通信及雷达系统内的应用潜力加以探讨,以克服传统天线在多波束、高增益及宽带宽性能方面的瓶颈。通过对电磁超表面基础理论进行深度分析,提出了一种整合单元结构设计、透镜结构优化与多...
5G网络切片技术的应用与探讨
摘要:5G网络切片技术能在共享的物理基础设施上构建出多个相互隔离的逻辑网络,从而达成对异构业务的资源定制与服务保障,特别适用于物联网等多业务融合的异构场景。文章首先介绍了5G网络切片的关键技术基础,结合5G的三大应用场景分析网络切片的实际应...
基于WGAN-GP数据增强的钢管混凝土柱滞回极限承载力预测
摘要:针对钢管混凝土柱滞回性能实验数据稀缺、样本分布不均的问题,文中融合101条实测滞回实验与WGAN-GP增强数据,构建601条高质量数据库。将空心率、内/外钢管尺寸、钢管壁厚、长细比、屈服强度、混凝土强度、轴压比等11项参数作为输入,数...
基于自适应方向 A* 算法的移动机器人路径规划
摘要:为解决移动机器人在复杂环境中采用传统 A* 算法进行路径规划时扩展节点数多,从而使得运行效率降低和转折点增多,导致路径不平滑的问题,文中提出一种自适应方向 A* 算法。首先,在 A* 算法的启发函数中引入自适应函数,减少算法的搜索时间...
基于PSA的人体运动微多普勒图像数据增强
摘要:利用微多普勒雷达采集的人体运动微多普勒图像在智慧养老和智慧安防等领域具有重要意义。然而,对人体运动微多普勒图像数据增强技术的研究仍相对匮乏。基于此问题,文章针对现有自建的人体运动微多普勒图像质量评价数据集HMMDIQA + ,开展了数...
自动驾驶跨平台联合仿真系统研究
摘要:随着自动驾驶技术的快速发展,高精度的仿真平台已成为研究自动驾驶系统的关键工具。基于此,文中提出一种基于MATLAB、CarSim和PreScan的联合仿真框架,用于自动驾驶车辆的开发与测试。通过MATLAB的算法开发能力、CarSim...
基于混合储备池计算模型的物联网交通流量预测研究
摘要:针对物联网环境下短期交通流量预测的需求,提出一种计算高效、预测精准的混合储备池计算模型,以提升智能交通系统的实时决策能力。首先,设计一种相邻反馈交叉跳跃储备池(ACRCJ)模型,优化经典模型计算复杂的问题;其次,结合受限玻尔兹曼机(R...
基于大模型的残障儿童康复管理系统设计
摘要:针对残障儿童康复机构管理系统存在数据孤岛、因缺乏智能决策导致儿童康复服务发展受限,以及部分患儿无法获得科学规范的康复治疗等问题,设计了以微服务和大模型智能体为核心技术的残障儿童康复管理系统。在系统开发过程中,根据业务独立、分布式设计等...
基于ICTGAN-HO-BiLSTM的水泥熟料细度预测
摘要:针对水泥立磨系统耦合性强、工艺复杂及水泥熟料细度小样本的问题,提出一种基于改进条件表格生成对抗网络(ICTGAN)和河马算法(HO)优化双向长短期记忆(BiLSTM)网络的水泥熟料细度预测模型。首先,对水泥立磨研磨工艺进行分析,确定水...
基于机器学习的3D打印混凝土试块强度预测研究
摘要:为提升3D打印混凝土结构抗压性能的预测精度,构建一个融合实验与有限元模拟的混合数据库。该数据库共包含597组数据,其中实验数据为50组,有限元仿真数据为547组。以纤维含量、抗拉强度、水泥基强度和加载方向为输入变量,分别采用K近邻回归...
可分饮品智能加热杯的控制系统的研究与设计
摘要:目前市面上智能加热水杯很多,但是存在功能简单或者不能与手机APP联网的问题,而且部分水杯还没有可分饮品加热的功能。为此,文中设计了一种智能加热水杯,系统包括单片机、压力传感器、温度传感器、加热继电器、水质传感器、LED显示模块、时钟提...
基于STC89C52单片机的扫地机器人设计
摘要:智能化家居领域的快速发展,使得智能扫地机器人逐渐进入千家万户。针对当前家用扫地机器人存在的路径规划效率低、避障精度不足等问题,文章设计一款基于STC89C52单片机的简易智能扫地机器人。该系统选用HC-SR04超声波模块进行避障,采用...
基于物联网的垃圾发电厂石灰石浆液制备系统改进技术
摘要:物联网技术凭借其全面感知、可靠传输和智能处理的特性,为垃圾发电厂石灰石浆液制备系统的优化升级提供了新路径。文章基于物联网技术、石灰石供浆泵工作原理,在分析传统垃圾发电厂石灰石浆液制备系统的相关工艺不足、参数匹配不合理等问题的基础上,提...
舰艇战术模拟训练评估指标设计及实现
摘要:为了提高舰艇战术模拟训练的效果,设计了简约便捷式舰艇作战行动演练平台,实现了想定加载、兵力部署、信息获取和武器装备使用等集成度高的作战指挥训练模式;同时根据舰艇战术模拟训练考核评定需求,构建了基于OODA循环的作战训练成绩评估体系,规...
基于PLC的温室大棚测控系统设计
摘要:随着现代农业对智能化需求的提升,传统温室大棚依赖人工控制的方式存在监测精度低、响应滞后等问题。故设计一种基于PLC(可编程逻辑控制器)的温室大棚测控系统,通过集成温度、湿度和光照强度传感器实时采集环境数据,结合西门子S7-200PLC...
基于物联网图像识别和语音交互的陪伴型气味管理与情绪调节香薰机
中图分类号:TP311.5;TP39 文献标识码:A 文章编号:2095-1302(2025)20-0117-04 摘,要:文章设计并开发了一款基于物联网的智能香薰机,结合图像识别与语音交互技术,实现气味管理与情绪调节的闭环控制。系统通过树...
基于大语言模型的命题辅助系统
摘要:高等教育自学考试的关键环节在于命题工作,其质量直接影响整体考试水平。基于大语言模型(LLM)构建的命题智能辅助系统,显著改善了命题文件标准化程度不足及编制效率低下的现状。文中详细阐述了该系统在管理层面与应用层面的功能组成,构建了由基础...
自适应太阳能光伏系统设计
摘要:针对固定式光伏系统动态环境适应性差、发电能效低的问题,文中提出一种融合智能追光、自动除尘与动态降温功能的自适应太阳能光伏系统。将STM32单片机作为控制系统核心,设计光-尘-温多维参数协同自适应的控制模型,并结合物联网技术实现太阳能光...
基于PLC远程控制的防冻液自动加注系统
摘要:针对内燃机发电机组人工加注防冻液过程中存在的高空坠落、高温烫伤和易燃气体暴露等安全隐患,设计了一套基于PLC远程控制的防冻液自动加注系统。系统充分利用现有瓦斯发电厂设备,通过智能化改造构建了完整的自动化加注架构,包含储存模块、输送模块...
基于物联网技术的智慧粮仓系统架构设计与实现
摘要:为解决传统粮仓因信息孤島和经验依赖导致的库存效率低、粮食损耗高等问题,构建了一种数据驱动的智能化管理体系,提出基于物联网的“感知层-网络层-平台层-应用层”四层架构:感知层部署多源传感器,实现粮堆深层数据采集;网络层采用LoRaWAN...
一种新型智能鱼缸控制系统
摘要:针对当前传统鱼缸管理方式难以满足现代用户需求,以及普遍存在功能较少、入门难度较大等问题,成功开发了一款新型智能鱼缸控制系统。系统以STM32为核心控制芯片,通过云服务器中转数据,结合微信小程序完成用户交互,搭配各类模块实现自动控制。该...
工业物联网边缘计算任务卸载技术研究综述
摘要:随着工业4.0的深入推进,边缘计算任务卸载技术已成为实现工业物联网(IIoT)低延迟、高可靠与智能化决策的关键支撑。文章系统梳理了资源协同优化、智能决策算法、安全可信机制及数字孪生融合等核心方向的研究进展,并指出动态异构环境管理、轻量...
基于物联网技术的应急管理系统
摘要:文章研究了一种基于物联网技术的应急管理系统,以提升应急响应的效率和准确性。通过对当前应急管理方面存在的问题进行分析,在此基础上引入物联网技术,通过传感器网络和数据收集与分析方法,有效实现了对紧急事件的实时监测与迅速响应能力。所设计的智...
基于OBE-BOPPPS教学模式下“嵌人式系统原理课程教学改革研究
摘,要:针对传统教学中存在的知识体系碎片化、教学理念陈旧化以及考核方式单一化等问题,以电子信息科学与技术专业“嵌入式系统原理”课程为实践对象,依托“数字孪生”与“硬件在环”相结合的实验平台,创新性地将BOPPS教学模型引入课程建设。通过构建...
“物联网技术及应用”课程混合式教学改革与实践
摘要:随着移动互联网技术的快速发展,现代化教学模式改革逐步向网络化、信息化方向推进。“物联网技术及应用”课程积极融合AI技术,通过构建知识图谱、问题图谱开展智慧课程建设应用研究,并依托自主研发的线上课程资源教学平台,打破传统教学模式的局限。...
物联网驱动下的高校教学空间交互与管理系统构建与优化策略
摘要:在高等教育持续发展的背景下,教学空间的精细化管理与高效利用成为影响教学质量的关键要素。本研究聚焦于高校教学空间的管理现状,深入剖析现存问题,并结合物联网、大数据及人工智能等前沿技术,系统阐述教学空间交互与管理系统的构建原则和功能分析。...
相关杂志
  • 中国商论

    中国商论

    2025年23期
    ¥17.49
  • 中外建筑

    中外建筑

    2025年10期
    ¥9.90
  • 河南科技

    河南科技

    2025年22期
    ¥6.00
  • 海洋开发与管理

    海洋开发与管理

    2025年07期
    ¥21.69
  • 计算机应用文摘

    计算机应用文摘

    2025年23期
    ¥9.00
  • 社会科学研究

    社会科学研究

    2025年06期
    ¥9.00
  • 现代信息科技

    现代信息科技

    2025年22期
    ¥18.00
  • 湖南大学学报(社会科学版)

    湖南大学学报(社会科学版)

    2025年06期
    ¥12.00
  • 中国调味品

    中国调味品

    2025年12期
    ¥0.00
  • 民主与科学

    民主与科学

    2025年05期
    ¥3.39
  • 计算技术与自动化

    计算技术与自动化

    2025年03期
    ¥10.89
  • 风湿病与关节炎

    风湿病与关节炎

    2025年11期
    ¥6.00
订阅全年后,您可享受以下权益
①该本杂志即日起至未来1年内所有更新电子版杂志的使用权限;
②赠送该杂志的部分往期的杂志的使用权限,有效期1年。

全年订购价格: ¥144.00

订阅全年
--%>

登录龙源期刊网

温馨提示:

1.点击网站右上角的“充值”按钮可以为您的账号充值

2.充值金额可以选择30,50,100或500元

3.充值成功后即可购买网站上的任意杂志或文章

还没有龙源账户? 立即注册

购买杂志

物联网技术

杂志价格:¥12.00元

  • 微信扫码支付
  • 当前余额:100.00

购买杂志

物联网技术

杂志价格:¥12.00元

  • 微信扫码支付
  • 当前余额:¥100.00

    去充值
monitor
客服机器人