注册帐号丨忘记密码?
1.点击网站首页右上角的“充值”按钮可以为您的帐号充值
2.可选择不同档位的充值金额,充值后按篇按本计费
3.充值成功后即可购买网站上的任意文章或杂志的电子版
4.购买后文章、杂志可在个人中心的订阅/零买找到
5.登陆后可阅读免费专区的精彩内容
打开文本图片集
中图分类号:U227文献标志码:A
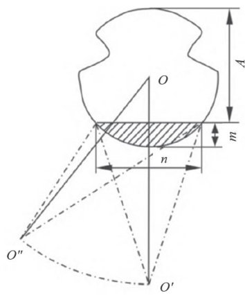
接触线磨耗是影响铁路电气化系统性能和安全的关键因素之一,直接影响电力传输效率和铁路运行的稳定性。传统的接触线磨耗检测方法通常依赖人工定点检测,属于典型的接触式磨耗检测策略。人工检测需要将铁路线路断电,再使用游标卡尺对接触线的残存高度进行精确测量,最后,按照接触线型号磨耗换算表计算具体磨耗量。(剩余5619字)
登录龙源期刊网
购买文章
基于机器视觉的接触线磨耗检测技术
文章价格:4.00元
当前余额:100.00
阅读
您目前是文章会员,阅读数共:0篇
剩余阅读数:0篇
阅读有效期:0001/1/1 0:00:00