注册帐号丨忘记密码?
1.点击网站首页右上角的“充值”按钮可以为您的帐号充值
2.可选择不同档位的充值金额,充值后按篇按本计费
3.充值成功后即可购买网站上的任意文章或杂志的电子版
4.购买后文章、杂志可在个人中心的订阅/零买找到
5.登陆后可阅读免费专区的精彩内容
打开文本图片集
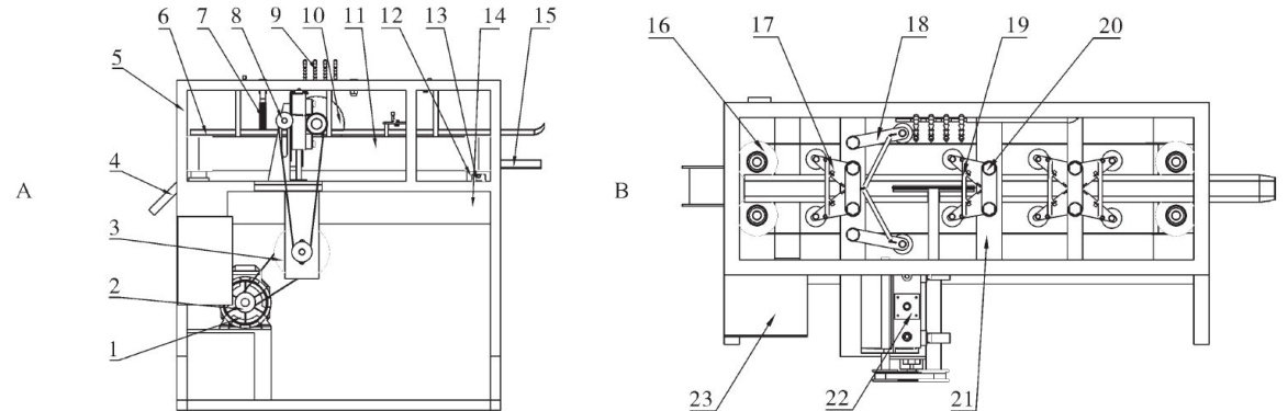
中图分类号 TS254.3 文献标识码 A 文章编号 1000-2421(2025)05-0259-11
我国是淡水鱼养殖大国,2022年全国淡水鱼产量达到3289.76万t,但淡水鱼加工量占比较低,不到淡水产品总产量的 20.44%[1] 。目前,我国淡水鱼加工装备机械化、自动化程度低, 80% 的鱼体前处理加工需要人工干预[2],这极大地限制了淡水鱼深加工的发展。(剩余19862字)
登录龙源期刊网
购买文章
夹送式鲢鱼体剖切装置设计及试验
文章价格:6.00元
当前余额:100.00
阅读
您目前是文章会员,阅读数共:0篇
剩余阅读数:0篇
阅读有效期:0001-1-1 0:00:00