注册帐号丨忘记密码?
1.点击网站首页右上角的“充值”按钮可以为您的帐号充值
2.可选择不同档位的充值金额,充值后按篇按本计费
3.充值成功后即可购买网站上的任意文章或杂志的电子版
4.购买后文章、杂志可在个人中心的订阅/零买找到
5.登陆后可阅读免费专区的精彩内容
打开文本图片集
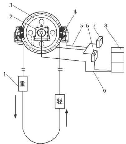
0引言
提升机作为矿井工人开采矿山的关键设备,主要起到运输作用。矿井提升系统不仅会影响运输人员的人身安全,还会影响物料、矿石的运输效率。当井下发生紧急情况或异常时,矿井安全系统会立即发出警告并做出响应,利用提升系统快速将井下工人转移到地面。如果提升系统出现安全故障,则会影响井下人员的安全升井,无法保障井下工人的安全。(剩余4040字)
登录龙源期刊网
购买文章
煤矿提升机应急提升策略研究
文章价格:4.00元
当前余额:100.00
阅读
您目前是文章会员,阅读数共:0篇
剩余阅读数:0篇
阅读有效期:0001-1-1 0:00:00