黄金首饰自动化仓库RFIDChamber盘点系统

打开文本图片集
本文引用格式:.黄金首饰自动化仓库RFIDChamber盘点系统[J].自动化与信息工程,2025,46(6):55-60. LI Shusheng.RFIDchamber inventory system for automated gold jewelry warehouse[J].Automation& Information Engineering,2025,46(6):55-60.
中图分类号:TP391.44 文献标志码:A 文章编号:1674-2605(2025)06-0008-06DOI: 10.12475/aie.20250608 开放获取
RFID Chamber Inventory System for Automated Gold Jewelry Warehouse
LI Shusheng (Shenzhen Saimo Intelligent Manufacturing Technology Co.,Ltd., Shenzhen 518087, China)
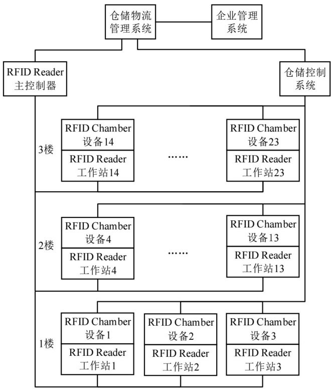
Abstract:Aimingat thecomplex electromagnetic interference problems faced byautomatedgold jewelry warehouses in metalicenvironments,anRFIDChamberinventorysystemisdesignedThissystemachievesrapidbinpositioningandRItagdata collectionthrough thesynergisticoptimizationofarotatingplatformandahexaedralantennalayout,combinedwiththemotion controlofanFX5UPLCand the Modbus TCPcommunication protocol.TheRFIDReader mastercontrolersoftware feeds the detectionresultsbacktotheWarehouseManagementSysteminreal-timenablingdynamicupdatesofinventorydataandanomaly alerts.Actual test results show that the system achieves a single-pass RFID tag data read accuracy rate of 99.99% and can process 1,380 bins per hour,providing areliable solution for the automated management of precious metal storage.
Keywords:automated warehouse;radio frequencyidentification; inventorysystem; programmable logiccontroller
0 引言
随着某黄金首饰制造公司业务量的日益增长,成品仓库依赖人工进行存储与拣选作业的效率、准确性和安全性难以满足运营需求,因此提出建设黄金首饰自动化仓库。(剩余4933字)