分体式免耕播种机破茬装置设计与试验

打开文本图片集
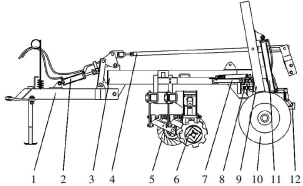
Abstract: Aiming atthe problems ofthe existing stubble breaking mechanisms in no-tillseeders,suchas impropersoil-entry angles,limitedajustmentofsoilentryepthandusatisfactoryoilbeakingefects,nindependentstbblebreaingdisc mechanism forsplit-type no-tilleeder was designed.This mechanism canbeseparated fromtherear-mounted seederthrougha verticalingeshaftThesoilentrydepthisadjustedbythedriveroperatingtheadjustingcylinderinthecab.Itsolvesthestructual andadjustmentlimitationsofraditionalstubblebreaking mechanisms,achievingthegoalsofonvenientlyandquicklyadjusting thesoil-entrydepthandimprovingthesoilbreakingeffectFieldperformance tstssowthattheaveragestrawcutingrateofthe split-type no-till seeder after the operation is 95.25% ,that the trafficability of the machine set is good, that meeting the operation requirements,andthatprovidingatheoreticalreferenceforthedevelopmentofstubblebeaking mechanismsinno-tillseders. Key words: No-till seeder; Split-type; Stubble breaking mechanism; Test
doi:10.13620/j.cnki.issn1007-7782.2025.02.001
中图分类号:S223.2 文献标识码:A
0引言
保护性耕作技术起源于美国。(剩余3846字)