注册帐号丨忘记密码?
1.点击网站首页右上角的“充值”按钮可以为您的帐号充值
2.可选择不同档位的充值金额,充值后按篇按本计费
3.充值成功后即可购买网站上的任意文章或杂志的电子版
4.购买后文章、杂志可在个人中心的订阅/零买找到
5.登陆后可阅读免费专区的精彩内容
打开文本图片集
0 前言
随着科技的进步和社会生产力的提高,大型泵闸类水利工程建设在不断加大的投资支持力度下得到了广泛发展。其中,深基坑中泵闸类工程大型钢筋混凝土底板质量控制首先受到关注。尤其是在地下水位埋藏浅、基坑动态变形要求高、作业面场地狭小、基坑开挖面积大、地质条件较差、有内撑式挡墙围护结构要求的深基坑中施工的大型钢筋混凝土底板工程。(剩余5744字)
登录龙源期刊网
购买文章
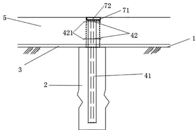
带止水阻断装置的钢立柱结构施工技术及应用研究
文章价格:4.00元
当前余额:100.00
阅读
您目前是文章会员,阅读数共:0篇
剩余阅读数:0篇
阅读有效期:0001-1-1 0:00:00