科技进步与对策

科技进步与对策

2025年19期
  • 收藏
收藏成功
微博 空间 微信
《科技进步与对策》创刊于1984年,由中国管理科学学会、湖北省科技厅主管,湖北省科技信息研究院主办,科学出版社出版,是关...     展开

类型

半月刊

类别

定价
促销信息
全年订阅更优惠!
¥25.00 免费
目录

数据治理与创新专栏

数据产权结构性分置的规范实现
摘要:结构功能主义是产权结构性分置的理论内核。结构功能主义下的产权结构性分置将数据要素价值释放作为功能指引,基于以数据持有权、数据加工权、数据经营权为核心的各子系统间逻辑关系整合数据产权运行规则,最终实现数据要素市场稳健运行。数据产权结构性...
数据要素市场化能否提升城市绿色创新效率
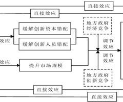
摘要:推动数据要素市场化配置对释放数据要素红利、促进绿色创新发展意义重大。基于数据交易平台建设的准自然实验,运用多期双重差分法探究数据要素市场化对城市绿色创新效率的影响。研究发现,数据要素市场化能够显著提升城市绿色创新效率。机制检验表明,缓...
开放数据生态系统赋能国家创新体系效能提升
摘要:开放数据生态系统在国家创新体系效能提升中扮演着关键角色。开放数据呈现出从单一数据开放到生态系统构建的演进特征,体现了其与国家创新体系效能之间的深层作用机制。基于生态系统理论视角下的“三层级动态演进理论”,揭示开放数据生态系统在动力级、...

创新创业理论

创新生态系统数实融合演化影响因素识别
摘要:企业创新生态系统为数字技术采纳与扩散提供坚实基础,能促进技术革新与生态转型深度融合。结合技术—组织—环境(TOE)框架及技术接受和使用统一理论(UTAUT),运用扎根理论方法从“环境—组织—技术—个体"4个层面挖掘14个影响...
先前经验、创业学习与环境不确定性如何激发创业想象力
摘要:创业想象力有助于创业者构思创意、预测未来并创造新的可能性,从而为应对环境挑战作好行动准备。然而,如何提升创业者的创业想象力是学界尚待解决的科学问题。基于社会认知理论和组织学习理论,采用模糊集定性比较分析(fsQCA)方法对不同创业水平...

产业创新发展

数字技术赋能产业链与创新链融合模式研究
摘要:数字经济时代,企业利用数字技术强化产业协作和协同创新,有利于进一步推动产业链与创新链融合,对实现中国经济高质量发展具有重要现实意义。基于“核心—边缘"视角,对企业在产业链与创新链中所处的地位进行考察,分析得出4种结构:产业链...
中国制造业智能化发展的空间关联网络与形成机制研究
摘要:打造制造业智能化发展共同体是制造业高质量发展的迫切需要。基于“VHSD-EM"组合模型测度2010—2022年中国省际制造业智能化发展水平,通过修正引力模型构建其空间关联网络,运用社会网络分析方法与QAP模型探究其结构特征及...
空间视角下绿色信贷对数字技术创新的影响
摘要:利用 2009-2022 年我国137个地级及以上城市面板数据,采用空间杜宾模型(SDM)探究绿色信货对数字技术创新的影响。研究发现,绿色信贷能够直接推动数字技术创新,且具有显著空间溢出效应,进而带动周边地区数字技术创新。区域异质性分...

企业科技创新

“专精特新”企业新质生产力发展路径研究
摘要:“专精特新”企业新质生产力是推动我国经济高质量发展的重要动力源。基于组织生态理论,借助动态定性比较分析方法,以我国242个国家级“专精特新”企业为案例,分析2017—2022年组织系统内外环境因素对“专精特新”企业新质生产力发展的组态...
数字化注意力对企业ESG表现的影响与作用机制
摘要:数字化注意力是企业数字化战略决策与数字化转型的前提条件。数字化注意力对企业履行ESG责任具有重要影响,对经济可持续与高质量发展具有重要意义。以2011—2021年A股上市公司作为研究样本,考察企业所在城市数字化注意力因素并构建上市公司...
认知框架如何影响商业模式创新
摘要:商业模式创新是影响企业能否从技术中获取利润的关键要素。围绕“认知框架如何影响商业模式创新”这一问题,通过双案例研究讨论AI企业商业模式创新过程及其涌现机制。研究发现:认知框架转变是驱动商业模式创新的关键因素,企业通常采用叠加、脱耦和融...

科技政策与管理

资源逻辑还是竞争逻辑?优质中小企业培育政策对未认定企业创新的影响
摘要:现有研究多从资源逻辑探讨政府认定能够激发已认定企业创新活力,却忽视了未认定企业付出的创新努力。为了探究竞争逻辑下优质中小企业培育政策对未认定中小企业创新投入的影响,以2013—2022年沪深A股上市中小企业为例开展准自然实验,采用多期...
信息成本约束下政府补贴对象筛选机制与企业创新
摘要:以2007—2022年A股上市公司为研究样本,实证检验政府面临的信息成本对政府补贴与企业创新间关系的调节作用。研究发现,以信息成本作为对象筛选标准的补贴机制精准度更高,即当政府面临的信息成本较低时,政府补贴更有助于企业创新;较低信息成...

综述

数字创新:内涵、理论框架与展望
摘要:数字创新是数字经济时代企业获取持续竞争优势的重要途径,但现有文献对数字创新概念内涵未作出明确阐释。运用文献分析法界定数字创新内涵,指出数字创新能力在数字创新过程中发挥关键作用,拓展现有文献对数字创新的类别划分,提出新的数字创新类型——...
相关杂志

登录龙源期刊网

温馨提示:

1.点击网站右上角的“充值”按钮可以为您的账号充值

2.充值金额可以选择30,50,100或500元

3.充值成功后即可购买网站上的任意杂志或文章

还没有龙源账户? 立即注册

购买杂志

科技进步与对策

杂志价格:¥0.00元

  • 微信扫码支付
  • 当前余额:100.00

购买杂志

科技进步与对策

杂志价格:¥0.00元

  • 微信扫码支付
  • 当前余额:¥100.00

    去充值
monitor
客服机器人