机电信息

机电信息

2025年21期
  • 收藏
收藏成功
微博 空间 微信
《机电信息》杂志社自2001年创刊以来,始终以服务机电行业为己任,经过10余年的实践积累,已形成了完备的信息市场服务网络...     展开

类型

半月刊

类别

定价
促销信息
全年订阅更优惠!
¥10.00 ¥4.90
目录

电气工程与自动化

基于数字李生的变电站智能运检体系构建
摘要:以南京诚迈电力信息有限公司合肥分公司为研究对象,探讨基于数字孪生技术的变电站智能运检体系构建路径。研究构建了包含感知层、数据层、平台层与应用层的四级系统架构,并介绍了数据采集、模型映射、故障预警及仿真培训等关键技术模块。通过在220k...
电力电缆弯道智能支撑与监测调控系统在东安站工程中的应用研究
摘要:以110 kV东安站青南湖线、泉林甲线网架完善工程为研究对象,基于枫景湾#9、#15及泉林御湖湾#11、#13配电房的设备试验数据、工程三级自检报告及监理日志,系统阐述电力电缆弯道智能支撑与监测调控系统的技术原理、工程部署及应用效果。...
基于三相维也纳整流器的汽车充电桩设计
摘要:基于三相维也纳整流器设计了汽车充电桩,硬件电路采用三相维也纳整流器与全桥LLC谐振变换器的拓扑结合。通过确定三相维也纳整流器、全桥LLC谐振变换器的基本参数,利用仿真软件MATLAB/Simulink建立与硬件电路相对应的仿真模型,验...
某 35kV 变电站主变线变组保护差流异常问题分析与解决方案
摘要:某35kV变电站在实施线变组接线改造后,负荷投运阶段出现差动保护差流异常现象。经全面排查,确认故障原因为施工过程中变压器高、低压侧A/C相序反接,导致实际连接组别由设计要求的Yd11变为Yd1。现系统阐述故障诊断过程,通过相量分析与现...
关于主变中性点间隙零序保护跳小电源的分析
摘要:介绍了主变中性点间隙零序保护的原理,并结合实际工程案例详细分析了其对小电源跳闸的影响。首先阐述了间隙零序保护是变压器中性点经间隙接地运行时的接地故障后备保护;然后以某光伏项目为例,进一步分析了主变零序间隙保护切小电源的具体要求;此外,...
1000MW火电厂AVC调度考核问题分析与策略优化
摘要:某 ∵4×1000 MW火电厂自动电压控制(AutomaticVoltageControl,AVC)系统存在响应滞后、调节精度不足、多机组协调困难等问题,通过分析影响其调节性能指标的几项关键因素,提出并实施几项优化策略,在提...
EPR机组蒸汽发生器出口压力低原因与机理分析
摘要:EPR核电1号机组商运初期蒸汽发生器(SG)出口主蒸汽压力低于运行设计值,影响机组经济性和安全性。通过多次专题研讨并收集国内外不同核电机组不同型号SG运行经验反馈,确定影响EPR核电1号机组SG出口压力低的主要因素有两个方面:一是SG...

设计与分析

基于图解法和等效法的弹簧操动机构传动系统的优化设计
摘要:当前,国内经济整体呈现稳中求进态势,这一背景对电网系统中电力设备的可靠性提出了更高的要求。弹簧操动机构的断路器已广泛应用于配网系统中,依据相关文献,操动机构的机械故障是影响其运行可靠性的主要原因之一。一、二次融合10kV系列柱上断路器...
面向变电站巡检的无人机路径规划方法研究
摘要:针对变电站复杂巡检场景下无人机遍历巡检点位和障碍规避路径规划的问题,提出了一种基于融合 ?A*- 灰狼算法的无人机路径规划方法。基于工程场景进行变电站虚拟地图模型构建,通过动态加权改进 A* 算法优化节点路径,针对大规模环境下的低效搜...
新港高速公路智慧高速系统设计与应用研究
摘要:新港高速公路双柳长江大桥及接线工程作为武汉都市区环线的关键组成部分,其智慧高速系统建设意义重大。鉴于此,详细阐述了智慧高速系统的整体架构、核心子系统设计、技术创新及应用前景。系统以“全时全域感知、主动安全管控、高效协同服务"...
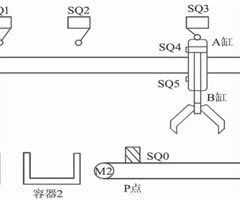
基于顺序控制设计法的分拣机械手PLC程序设计
摘要:针对工业自动化分拣的需求,以PLC为控制核心,结合自动分拣机械手的工艺流程,提出了一种基于顺序控制设计法的程序设计方法。通过绘制工作流程图与顺序功能图,并采用置位/复位指令驱动法,实现了顺序功能图与梯形图程序的高效转换。...
ABB工业机器人码垛程序优化设计
摘要:针对ABB工业机器人码垛作业中传统程序存在的示教烦琐、通用性差等问题,提出了结合FOR循环指令、数组及Offs功能的程序优化方案。优化后的程序仅需示教一个货物的点位,其他货物的点位则通过0ffs偏置指令、FOR循环指令计算得出,将结果...
基于RT-DETR的变电站作业人员误入带电区域检测算法研究
摘要:变电站是电力系统的关键枢纽区域,承担着电力传输和分配的重要任务。变电站中的带电区域具有极高的危险性,作业人员误入往往会引发严重的人身伤害和设备故障。针对现有的电力作业工作票制度存在的响应滞后问题,提出一种基于RT-DETR(Real-...
用于共模漏电流抑制的非接触式电流传感结构及阻尼方案设计
摘要:随着三相逆变器在新能源汽车、可再生能源等领域的广泛应用,系统中因高频PWM调制和寄生电容效应引发的共模漏电流问题日益突出,易导致电磁干扰、轴承电蚀及绝缘老化,严重影响系统安全与可靠性。现有的无源抑制方法虽结构简单、成本低,但体积大、难...
绿色节能导向下装配式钢结构配电站的设计与应用
摘要:在全球绿色低碳转型背景下,电力行业亟需优化配电站建设模式。传统混凝土结构配电站存在施工周期长、资源消耗大、环境污染严重等问题。现以沙坪供电所10kV装配式钢结构双层配电站工程为例,系统分析其绿色节能设计原则与应用实践。设计遵循节地、节...

设备管理与改造

核电厂附加电源中压盘柜凝露浸水问题处理及分析
摘要:核电厂附加电源中压盘柜作为核电厂运行的关键设备,其可靠性对核电机组的应急反应能力至关重要。然而,凝露浸水引发的电气设备腐蚀、绝缘性能下降问题严重威胁其运行可靠性与安全性。鉴于此,针对某核电厂实际发生的附加电源中压盘柜凝露浸水问题展开深...
深镇站大潮线 10kV 配电网自动化改造及其成效分析
摘要:以深镇站大潮线10kV配电网为研究对象,分析其当前运行状况下存在的问题,并进行自动化改造,通过对比改造前后故障自愈各环节耗时及可靠性指标,量化分析自动化技术对配电网的提升成效。结果表明,自动化改造大幅缩减了故障自愈阶段各处理环节耗时,...
核电主发电机定子绕组直流耐压试验异常分析及处理
摘要:针对某核电项目1号发电机定子绕组直流耐压试验的放电故障展开研究,通过记录试验、描述现象多维度分析原因,针对手包绝缘工艺缺陷等核心问题提出返修方案与改进措施。经验证,返修后手包绝缘性能达标,为同类发电机相关试验及管理提供了实践经验。...
高温高压水冲洗装置在300MW煤粉炉空预器堵塞治理中的应用
摘要:为解决300MW煤粉炉空预器因硫酸氢铵 (NH4HSO4) 沉积导致的堵塞问题,设计了一种基于原有热力系统的高温高压水冲洗装置。该装置通过邻机辅助蒸汽加热除氧水至 120~160° ,利用电动给水泵加压至2 ?0~4.5MP...

工艺与技术

数字总线网络在水下航行器上的应用研究
摘要:较为详细地介绍了采用CAN现场总线技术在某水下航行器上构建高速实时网络的实现过程和相关技术,以及其高层通信协议的编制,该网络系统的成功实现为未来水下航行器的全数字化做了有意义的前期探索。...
湿法脱硫系统中石灰石品质对石膏白度的影响分析
摘要:探讨湿法脱硫系统中石灰石品质对石膏白度的影响。对湿法脱硫系统的运行情况进行现场试验和数据收集,分析石膏白度与石灰石白度之间的关联性。研究发现,在一定条件下,脱硫系统中石膏白度与石灰石白度存在正相关关系。该研究对于湿法脱硫系统的优化运行...
相关杂志
订阅全年后,您可享受以下权益
①该本杂志即日起至未来1年内所有更新电子版杂志的使用权限;
②赠送该杂志的部分往期的杂志的使用权限,有效期1年。

全年订购价格: ¥176.40

订阅全年
--%>

登录龙源期刊网

温馨提示:

1.点击网站右上角的“充值”按钮可以为您的账号充值

2.充值金额可以选择30,50,100或500元

3.充值成功后即可购买网站上的任意杂志或文章

还没有龙源账户? 立即注册

购买杂志

机电信息

杂志价格:¥4.90元

  • 微信扫码支付
  • 当前余额:100.00

购买杂志

机电信息

杂志价格:¥4.90元

  • 微信扫码支付
  • 当前余额:¥100.00

    去充值
monitor
客服机器人