注册帐号丨忘记密码?
1.点击网站首页右上角的“充值”按钮可以为您的帐号充值
2.可选择不同档位的充值金额,充值后按篇按本计费
3.充值成功后即可购买网站上的任意文章或杂志的电子版
4.购买后文章、杂志可在个人中心的订阅/零买找到
5.登陆后可阅读免费专区的精彩内容
打开文本图片集
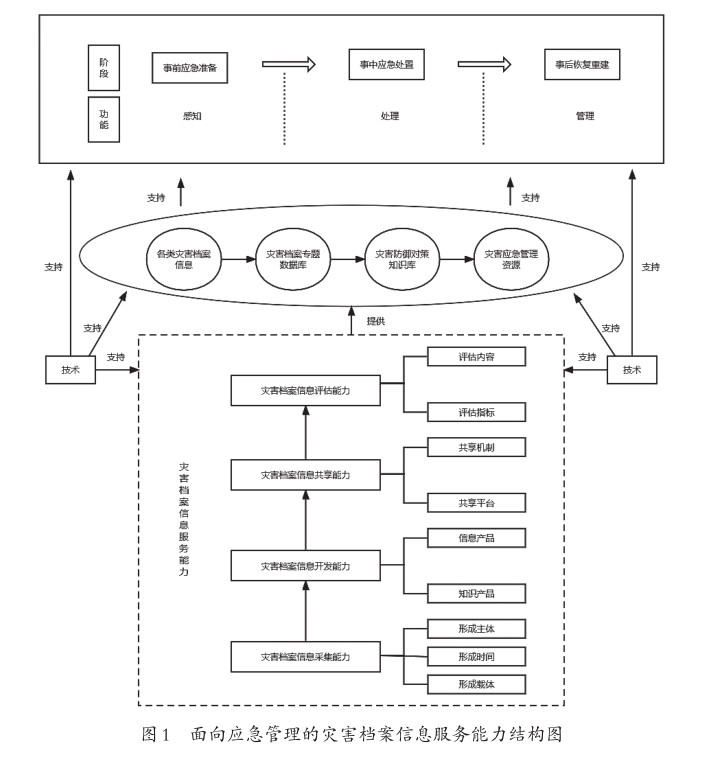
摘 要:面向应急管理的灾害档案信息服务能力建设是完善我国灾害应急管理体制机制、推动应急治理体系和治理能力现代化的迫切要求。本文在总结当前研究动态与实践症结的基础上,提出面向应急管理的灾害档案信息服务能力建构这一命题,分析其内涵定位,并从灾害档案信息的采集能力、开发能力、共享能力、评估能力四个维度阐释其主体内容。(剩余9334字)
登录龙源期刊网
购买文章
面向应急管理的灾害档案信息服务能力建设研究
文章价格:5.00元
当前余额:100.00
阅读
您目前是文章会员,阅读数共:0篇
剩余阅读数:0篇
阅读有效期:0001-1-1 0:00:00