山东大学学报(哲学社会科学版)

山东大学学报(哲学社会科学版)

2025年06期
  • 收藏
收藏成功
微博 空间 微信
《山东大学学报(哲学社会科学版)》始终坚持以现实为引领、以理论为基础的办刊方针,坚持传承文明、创新理论、繁荣学术、服务社...     展开

类型

双月刊

类别

定价
促销信息
全年订阅更优惠!
¥30.00 ¥18.00
目录

党的领导与中国式现代化

党在领导现代化进程中推进自身现代化
摘要:政党既是现代化的产物,也是现代化的主导性力量。领导现代化的政党其自身必须现代化。政党现代化属于政治文明范畴,是由政党的思想能力、民主素养、法治水平以及制度规范构成的政党成长机制,体现的是政党意志表达和政党价值兑现的政党文明演进过程。现...
中国式生态现代化的美丽中国之道
摘要:中国式现代化是人与自然和谐共生的现代化。作为中国式现代化在生态领域的现代化成果,中国式生态现代化是深化对生态文明建设规律性认识的现代化产物,以独特的生态哲理从本体之道、价值之道、实践之道等层面赋予自身特有的本质属性、基本遵循和研究视角...

基础理论创新与构建中国自主知识体系

调查研究与中国经济学自主知识体系构建
摘要:构建中国经济学自主知识体系是中国经济学工作者的时代任务,需要科学的方法论支撑。作为中国社会主义政治经济学的重要探索者,孙冶方将调查研究视为经济学研究的基本功,以唯物辩证法为其方法论基础,使调查研究超越了单一技术性方法,成为具有广义内涵...
数量关系法律现象实证研究之定位:数量法学概念的重申
摘要:随着实证研究方法在法学领域的广泛应用,各种名号的实证法学研究概念层出不穷。命名“乱象”展现出研究者在理解实证法学研究的范畴体系和定量分析方法的重要性时存在巨大分歧。在数字时代,智能技术虽然成为实证法学研究的重要工具,但据此命名的计算法...

文化与经济

企业的“文化性"与“文化媒介性”
摘要:企业的“经济性”内蕴“文化性”,“文化性”的关键在于和社会文化互嵌、互动的“文化媒介性”,这为企业成为人文经济的微观主体提供了基础条件。作为被有效组织起来的有机整体,企业的“文化性”体现为组织文化与品牌文化,前者有着强调深层“本质”与...
文化企业社会责任法律化:缘起、理念与实现路径
摘要:文化企业不仅承担着对员工、消费者、环境、弱势群体及公益事业的一般社会责任,还担负着实践“自由的精神生产”的特殊社会责任。社会责任产生于人们的交往与合作之中,本质上是一种道德义务,中国式现代化对文化企业履行社会责任提出了更高的要求。为克...

法律与政策实证研究

中国轻微犯罪治理的新时代“枫桥经验"研究
摘要:诞生于浙江省诸暨市枫桥区的“枫桥经验”源自对“四类分子”的教育改造。“四类分子”是在当时特定政治背景下被列入社会改造对象的一个特殊群体,因此,“枫桥经验”可被视为当下我国轻微犯罪治理的重要源头之一。基于实证考察,新时代轻微犯罪治理的“...
数字司法改革与企业投资
摘要:数字司法是现代法治建设的重要组成部分,为企业投资活动提供了制度性保障。以“移动微法院"试点为准自然实验,采用交错双重差分法检验数字司法改革对企业投资的研究发现,“移动微法院”试点显著提高了企业投资水平,这一效应在非国有企业和...

社会建设理论与实践

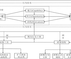
助推社会救助对象积极就业:基于行为社会政策的分析框架
摘要:限制社会救助对象长期接受救助并刺激其积极就业的做法,本质上是一种针对贫困者行为改变的干预手段。近年来,“助推”等新型政策工具逐渐受到关注,不仅推动着行为洞察广泛应用于公共管理与社会政策领域,还为贫困者行为改变提供了新的政策选择。有必要...
志在乡土:农村大学生志愿服务经历与返乡就业意愿研究
摘要:在加快农业农村现代化,扎实推进乡村全面振兴大背景下,深化乡村振兴人才战略,促进农村大学生返乡就业,激发其投身乡村建设的意愿已成为实现城乡人才均衡配置、推动乡村发展的重要途径。为深化对农村大学生返乡就业的认识,利用针对华东地区高校农村大...

经济高质量发展

核心涉“绿”金融范畴的边界与交集
摘要:经济高质量发展离不开涉“绿”金融的支撑,这一领域的研究正在迅速发展,并呈现出多元化的特征。涉“绿”金融作为推动环境友好型社会建设、达成碳中和目标以及实现人类可持续发展的关键力量,囊括了转型金融、绿色金融、气候金融、可持续金融、碳金融和...
高管团队注意力与制造企业服务化
摘要:服务化是制造企业摆脱同质化竞争、满足不断升级的消费需求的重要战略。高管团队作为企业服务化战略决策的制定者和执行者,其注意力分配对服务化发展至关重要。以2010—2022年A股制造业上市公司为样本,结合注意力基础观和技术可供性实现理论,...
农村低收人群体创业对其收人结构改善的影响研究
摘要:收入结构改善是衡量农民收入水平,尤其是农村低收入群体收入水平可持续增长的重要因素,也是实现共同富裕的有力支撑。通过深入农村实地调研获取数据,研究乡村创业如何影响农村低收入群体增收以及收入结构改善的问题,具有重要现实意义。研究结果表明:...
城乡数字素养差异是否加剧了居民收入不平等?
摘要:缩小城乡收入差距一直是国家关注的重点,也是实现共同富裕的核心任务之一。数字经济的快速发展为实现这一目标提供了重要的机遇,但随之而来的数字素养差距问题逐渐凸显,成为制约居民收入增长和加剧城乡居民收入不平等的重要因素。基于2010—202...
税收划分、政府收支行为与地方财政可持续
摘要:以31个省、自治区和直辖市2015—2023年的面板数据为样本,运用变系数面板模型和中介效应模型检验税收划分对地方财政可持续的影响及其中间传导机制的研究结果表明:税收划分对地方财政可持续产生显著影响,且对不同地区的影响具有异质性。税收...

中国式法治现代化理论与实践

海域使用权分层设权制度:内涵释明、基本遵循及规则表达
摘要:海域立体开发规模化推进需要在规范指引下进行。然而现行海域使用权的法律规范是围绕海域平面划分设权模式建立起来的,无法有效回应海域立体开发的现实需求,因此有必要创设海域使用权分层设权制度。从海域使用权物权属性看,分层设权制度的核心是在满足...
从自愿到强制:电子数据跨境调取的制度演变及其评析
摘要:电子数据跨境调取的传统司法协助途径依赖缔约国主管机关之间的合作,但其低效性屡遭诟病。为提高取证效率,部分国家采用了直接面向网络服务提供商的自愿合作模式,但该模式也存在不透明性、不确定性以及差别待遇等问题。因此,部分国家通过制定单边立法...
刑法第37条定罪免刑条款体系地位之确证与展开
摘要:有罪免刑制度司法适用现状不容乐观的一个重要原因在于,理论界和实务界对刑法第37条定罪免刑条款的体系地位众说纷纭。关于刑法第37条前段的体系地位,“概括规定说”与“纯粹独立说”分别走向了两个极端,均不可取“概括独立说”不仅可以弥合二者的...
相关杂志
订阅全年后,您可享受以下权益
①该本杂志即日起至未来1年内所有更新电子版杂志的使用权限;
②赠送该杂志的部分往期的杂志的使用权限,有效期1年。

全年订购价格: ¥108.00

订阅全年
--%>

登录龙源期刊网

温馨提示:

1.点击网站右上角的“充值”按钮可以为您的账号充值

2.充值金额可以选择30,50,100或500元

3.充值成功后即可购买网站上的任意杂志或文章

还没有龙源账户? 立即注册

购买杂志

山东大学学报(哲学社会科学版)

杂志价格:¥18.00元

  • 微信扫码支付
  • 当前余额:100.00

购买杂志

山东大学学报(哲学社会科学版)

杂志价格:¥18.00元

  • 微信扫码支付
  • 当前余额:¥100.00

    去充值
monitor
客服机器人