注册帐号丨忘记密码?
1.点击网站首页右上角的“充值”按钮可以为您的帐号充值
2.可选择不同档位的充值金额,充值后按篇按本计费
3.充值成功后即可购买网站上的任意文章或杂志的电子版
4.购买后文章、杂志可在个人中心的订阅/零买找到
5.登陆后可阅读免费专区的精彩内容
打开文本图片集
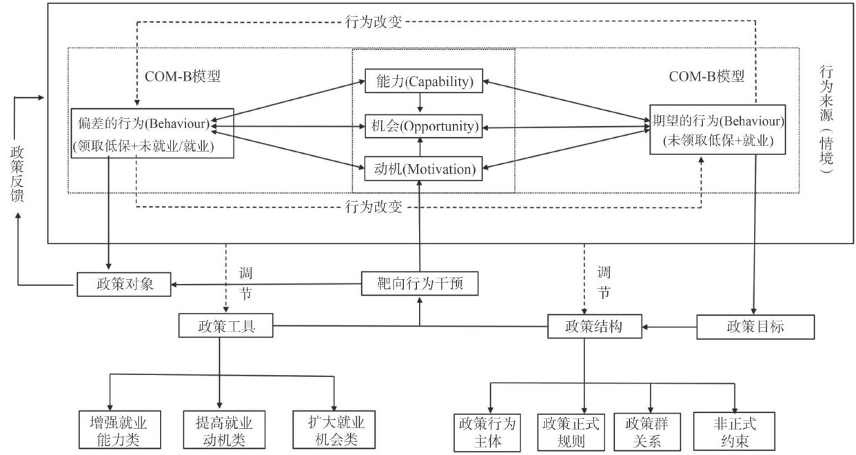
一、贫困者行为改变的三种理论解释
近年来,行为改变正日益成为福利国家政策与政治的核心①。在实际的公共事务中,由于人类行为具有不完美、不理性特征,决策者常常会面临这样的抉择:是否需要干预人们的自愿行为使之更好地实现自身福利②。在西方国家当代福利政策中,限制贫困者长期接受救助以及刺激其就业的做法本质上是一种针对这一群体的行为干预,旨在改变福利领取者在积极就业和依赖福利行为之间的权衡选择③。(剩余16256字)
登录龙源期刊网
购买文章
助推社会救助对象积极就业:基于行为社会政策的分析框架
文章价格:6.00元
当前余额:100.00
阅读
您目前是文章会员,阅读数共:0篇
剩余阅读数:0篇
阅读有效期:0001/1/1 0:00:00