注册帐号丨忘记密码?
1.点击网站首页右上角的“充值”按钮可以为您的帐号充值
2.可选择不同档位的充值金额,充值后按篇按本计费
3.充值成功后即可购买网站上的任意文章或杂志的电子版
4.购买后文章、杂志可在个人中心的订阅/零买找到
5.登陆后可阅读免费专区的精彩内容
打开文本图片集
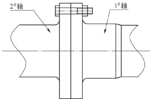
1序言
由于特定的作业环境,需不定期对船舶推进系统进行检修,在检修过程中经常出现轴系轴管内孔拉伤现象,进而影响轴管内部件运动的灵活性和稳定性。为避免拉伤部位对整个推进系统产生不利影响,需对轴管内孔进行修复。
当出现轴管内孔拉伤时,传统的轴系内孔修复方案需要对轴段进行分解,将待修复的轴段移出船舱,再转移至机械加工设备进行返修。(剩余2296字)
登录龙源期刊网
购买文章
舱内轴管内孔修复方法
文章价格:3.00元
当前余额:100.00
阅读
您目前是文章会员,阅读数共:0篇
剩余阅读数:0篇
阅读有效期:0001/1/1 0:00:00