注册帐号丨忘记密码?
1.点击网站首页右上角的“充值”按钮可以为您的帐号充值
2.可选择不同档位的充值金额,充值后按篇按本计费
3.充值成功后即可购买网站上的任意文章或杂志的电子版
4.购买后文章、杂志可在个人中心的订阅/零买找到
5.登陆后可阅读免费专区的精彩内容
打开文本图片集
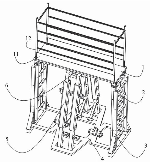
关键词:多重限位;卡固机制;可折叠;电力检修平台
中图分类号:TM73 文献标志码:A 文章编号:1671-0797(2025)20-0017-04
D0I:10.19514/j.cnki.cn32-1628/tm.2025.20.005
0 引言
电力检修作业是保障电力系统安全稳定运行的重要环节,检修平台作为关键作业设备直接影响检修工作的安全性和效率。(剩余6193字)
登录龙源期刊网
购买文章
基于多重限位与卡固机制的可折叠电力检修平台设计
文章价格:5.00元
当前余额:100.00
阅读
您目前是文章会员,阅读数共:0篇
剩余阅读数:0篇
阅读有效期:0001-1-1 0:00:00