注册帐号丨忘记密码?
1.点击网站首页右上角的“充值”按钮可以为您的帐号充值
2.可选择不同档位的充值金额,充值后按篇按本计费
3.充值成功后即可购买网站上的任意文章或杂志的电子版
4.购买后文章、杂志可在个人中心的订阅/零买找到
5.登陆后可阅读免费专区的精彩内容
打开文本图片集
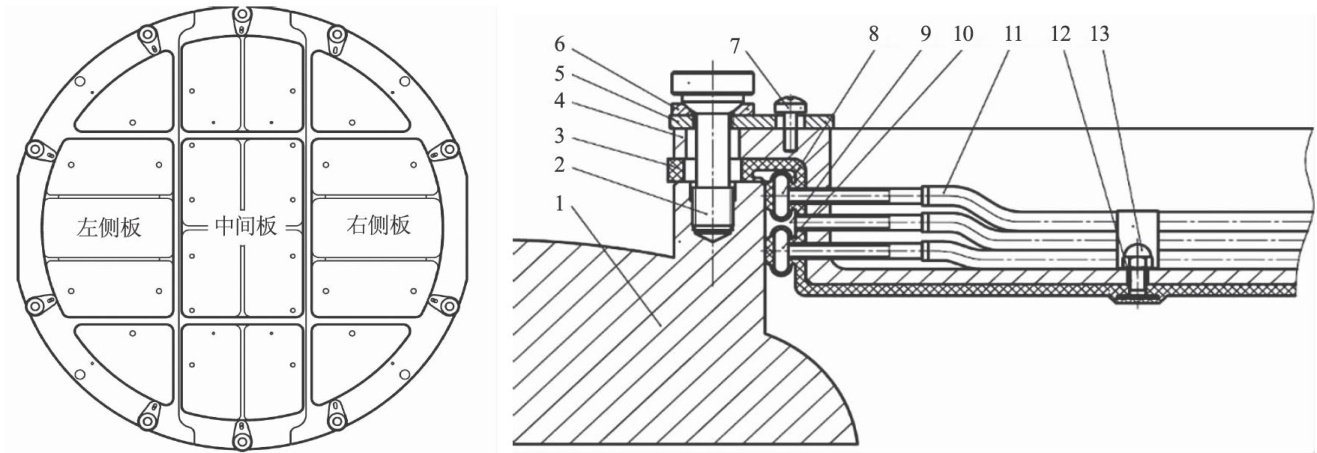
1蒸汽发生器密封堵板概述
核电厂大修全面在役检查期间,为保证压力容器在役检查与蒸汽发生器传热管在役检查作业同时进行,需在蒸汽发生器一次侧水室与主管道接管口上安装密封堵板,起到介质隔离的作用。考虑到蒸汽发生器一次侧水室内环境恶劣,因此密封堵板的密封可靠性、拆装便捷性等是衡量密封堵板性能的重要因素。
蒸汽发生器密封堵板通常为金属板与橡胶胶囊组合结构。(剩余3557字)
登录龙源期刊网
购买文章
核电厂蒸汽发生器密封堵板优化概述
文章价格:4.00元
当前余额:100.00
阅读
您目前是文章会员,阅读数共:0篇
剩余阅读数:0篇
阅读有效期:0001-1-1 0:00:00