注册帐号丨忘记密码?
1.点击网站首页右上角的“充值”按钮可以为您的帐号充值
2.可选择不同档位的充值金额,充值后按篇按本计费
3.充值成功后即可购买网站上的任意文章或杂志的电子版
4.购买后文章、杂志可在个人中心的订阅/零买找到
5.登陆后可阅读免费专区的精彩内容
打开文本图片集
中图分类号 TQ051.5 文献标志码 A 文章编号 0254-6094(2025)06-1008-06
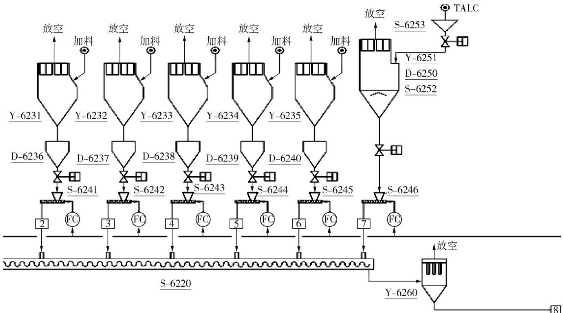
30万吨/年全密度聚乙烯装置引用美国UNI-VATION公司的UNIPOL气相法聚乙烯专利技术。精制后的乙烯、共聚单体、氢气等原料进入聚合反应器,在高效齐格勒-纳塔型催化剂的作用下生成聚乙烯树脂粉料并被送入挤压造粒系统造粒成型,最终由风送系统送至成品料仓等待包装。(剩余5513字)
登录龙源期刊网
购买文章
涡流管在聚乙烯装置固体添加剂系统的应用
文章价格:4.00元
当前余额:100.00
阅读
您目前是文章会员,阅读数共:0篇
剩余阅读数:0篇
阅读有效期:0001/1/1 0:00:00