注册帐号丨忘记密码?
1.点击网站首页右上角的“充值”按钮可以为您的帐号充值
2.可选择不同档位的充值金额,充值后按篇按本计费
3.充值成功后即可购买网站上的任意文章或杂志的电子版
4.购买后文章、杂志可在个人中心的订阅/零买找到
5.登陆后可阅读免费专区的精彩内容
打开文本图片集
中图分类号 TQ051.7 文献标志码 A 文章编号 0254-6094(2025)06-0931-09
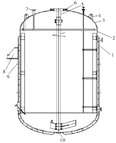
搅拌反应器是过程工业中最常见也是最重要的单元设备之一[1],而大型搅拌反应器具有相接触面积大、混合效果好、传质传热效率高等优点,在石化、生物、食品及医药等行业应用广泛。
由于大型搅拌反应器的体积大、结构复杂,因此在实际运行过程中,设备振动是常见的问题之一,振动会使搅拌旋转轴以及其他薄弱部件发生松动,产生疲劳破坏。(剩余8171字)
登录龙源期刊网
购买文章
大型聚合釜振动谐响应和动态特性分析
文章价格:5.00元
当前余额:100.00
阅读
您目前是文章会员,阅读数共:0篇
剩余阅读数:0篇
阅读有效期:0001/1/1 0:00:00