注册帐号丨忘记密码?
1.点击网站首页右上角的“充值”按钮可以为您的帐号充值
2.可选择不同档位的充值金额,充值后按篇按本计费
3.充值成功后即可购买网站上的任意文章或杂志的电子版
4.购买后文章、杂志可在个人中心的订阅/零买找到
5.登陆后可阅读免费专区的精彩内容
打开文本图片集
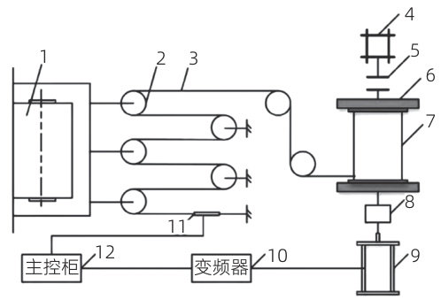
0 引言
通常,较为普遍的矿用带式输送机张紧装置分为液压张紧装置和变频自动张紧装置,带式输送机的自动张紧装置的主要作用为在输送过程中为其提供合适的张紧力,以有效保障输送带更安全平稳地工作。但传统矿用带式输送机液压张紧装置,其在实际应用中易出现漏油,液压装置损坏等故障,且张紧效果差,已无法满足当前矿用带式输送机的需求,而带式输送机变频自动张紧装置可规避到液压装置的不足,具有一定的优势。(剩余3546字)
登录龙源期刊网
购买文章
矿用带式输送机张紧装置的设计及应用分析
文章价格:4.00元
当前余额:100.00
阅读
您目前是文章会员,阅读数共:0篇
剩余阅读数:0篇
阅读有效期:0001-1-1 0:00:00