注册帐号丨忘记密码?
1.点击网站首页右上角的“充值”按钮可以为您的帐号充值
2.可选择不同档位的充值金额,充值后按篇按本计费
3.充值成功后即可购买网站上的任意文章或杂志的电子版
4.购买后文章、杂志可在个人中心的订阅/零买找到
5.登陆后可阅读免费专区的精彩内容
打开文本图片集
中图分类号:K21;K892.22 文献标志码:A 文章编号:1672-0768(2025)05-0039-08
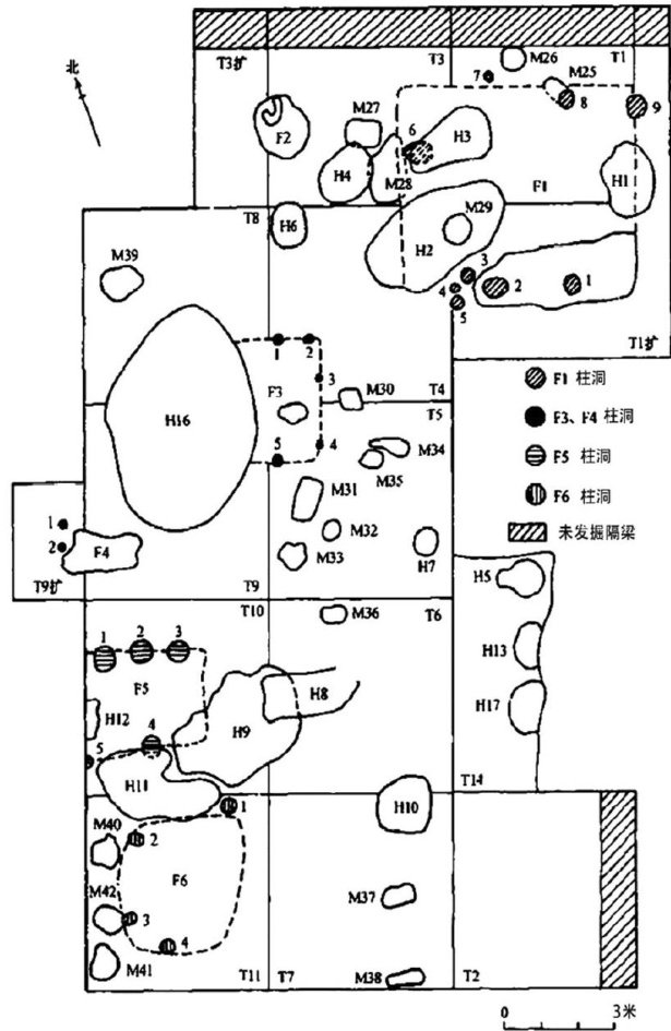
葬俗是先民现实生活的反映,通过对它进行研究,可以了解先民的生活状态、思想观念,及其所反映的各类文化现象。长江中游地区距今7800~10000年的彭头山文化墓葬遗存发掘丰富,主要遗址为彭头山遗址和八十挡遗址,彭头山遗址的发掘面积约400平方米,共发现了彭头山文化一期墓葬18座,二期墓葬3座。(剩余9865字)
登录龙源期刊网
购买文章
彭头山文化墓葬葬俗研究
文章价格:6.00元
当前余额:100.00
阅读
您目前是文章会员,阅读数共:0篇
剩余阅读数:0篇
阅读有效期:0001/1/1 0:00:00