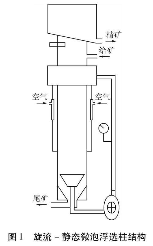
旋流-静态微泡浮选柱在金精矿浮选中的半工业试验研究

打开文本图片集
摘要:为实现金属高效回收,采用旋流-静态微泡浮选柱进行金精矿浮选半工业试验。结果表明:在给矿粒度-38 μm占93 %,浮选矿浆浓度25 %~27 %,给矿量400 kg/h,粗选药剂制度同生产现场,扫选不额外添加药剂的条件下,进行一粗一精一扫的闭路试验,可以得到精矿中金回收率97.33 %,银回收率96.32 %,铅回收率98.03 %,锌回收率86.36 %,铜回收率97.27 %,硫回收率95.51 %的良好指标,且均优于现场生产指标。(剩余4990字)