现代电子技术

现代电子技术

2025年12期
  • 收藏
收藏成功
微博 空间 微信
本刊以电子技术为主体,探讨和报道信息产业及电子行业中新技术,新器件,新应用的学术论文及成果;提供国内外最新的电子技术发展...     展开

类型

半月刊

类别

学术
定价
促销信息
全年订阅更优惠!
¥20.00 ¥12.00
目录

电子与信息器件

基于蝴蝶优化算法的多径电子通信环境抗干扰系统设计
摘 要: 为提升多径电子通信系统的抗干扰能力与传输可靠性,设计一种基于蝴蝶优化算法的多径电子通信环境抗干扰系统。基于SV 多径信道模型,构建多径电子通信环境的信道模型。以多径电子通信网络信道干扰最小化为目标函数,选取匈牙利算法进行多径电子...
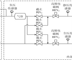
基于增量式PID的全静压控制系统设计
摘 要: 为使学生更好地理解大气数据的测量原理和过程,设计一种自动气压控制系统,来辅助教学演示过程中对飞机全压与静压的模拟。该系统使用上位机与下位机联合控制的方案,具有设定目标气压值控制和安全保护等功能。下位机控制核心选择STM32ZET...
基于XGBoost的电磁阀滤网缺陷检测系统设计
摘 要: 为弥补汽车电磁阀滤网表面缺陷自动化检测的空缺,并解决滤网表面缺陷检测准确率低、存在漏检现象等问题,设计一种基于改进XGBoost 的电磁阀滤网表面缺陷检测系统,有效识别电磁阀滤网存在的破洞、松丝缺陷。该系统首先对滤网图像进行滤波...
基于双端口记忆元件的LCL 滤波优化及应用
摘 要: 为提升光伏并网逆变系统的电能质量,提出一种基于双端口记忆元件的LCL 滤波器。传统的LCL 滤波器通过电容串联电阻实现无源阻尼控制,虽然可以抑制谐振频率处的谐振尖峰,但可能削弱高频滤波效果,导致并网电流不符合要求。所提方法采用记...
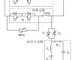
直流断路器主动注入的柔性直流线路故障定位方法
摘 要: 采用架空线路的柔性直流输电系统容易发生永久性故障,为确保模块化多电平换流器(MMC)型直流输电系统的可靠运行,研究高精度的故障测距方案具有现实意义。故提出一种基于直流断路器主动注入的柔性直流线路故障定位方法。当故障线路被直流断路...
挤压式细胞载药微流控装置设计
摘 要: 为探究细胞在药物加载中作为载体的潜力,提出一种综合性强的物理挤压微流控载药装置,用于将各种药物高效地装载到细胞中。该装置由前端的流体分布器和后端多路并行的挤压通道组成,在具有较高的样品通量和低堵塞的同时能确保良好的载药效果。通过...
基于SpecUNeSt 的无线电信号一维检测
摘 要: 信号检测是电磁空间侦察感知的重要环节,在复杂电磁对抗环境下,传统检测算法难以高效地检测出相对弱小的电磁信号。为此,基于智能技术在目标检测识别方面的独特优势,通过研究信号智能检测问题并依据信号频谱特征,提出一种基于SpecUNeS...

计算机科学与应用

基于 ConvTCN⁃FLASH⁃Transducer 的端到端语音识别
摘 要: 针对语音识别编码器对FBank 音频局部信息提取不足,不能充分挖掘帧与帧之间时序性的联系以及注意力机制复杂度高的问题,提出一种基于 RNN?Transducer 架构的 ConvTCN?FLASH?Transducer 模型。该...
一种SCNGO⁃MMPE⁃VMD的滚动轴承故障诊断方法
摘 要: 针对滚动轴承故障诊断中种群分布不均匀及算法早熟收敛问题,提出一种SCNGO?MMPE?VMD 的滚动轴承故障诊断方法。首先,利用折射反向学习方法初始化种群,并生成反向解,有效扩大搜索范围;然后,将正余弦算法(SCA)策略引入北方...
基于图自动编码器和梯度决策树集成的lncRNA⁃疾病关联预测方法
摘 要: 长链非编码RNA(lncRNA)的异常表达与人类疾病的发生发展密切相关。采用计算方法预测lncRNA 与疾病的潜在关联可显著降低生物学实验验证的成本。针对现有机器学习方法易受噪声干扰且预测精度不足的问题,设计一种新型lncRNA...
冲突和拥堵环境下AGV 智能仿真运输系统路径规划研究
摘 要: 在自动导引车(AGV)智能仿真运输系统路径规划中,复杂动态环境导致的路径冲突与拥堵问题会显著降低运输效率。对此,提出一种考虑冲突和拥堵环境下的AGV 智能仿真运输系统路径规划方法。使用栅格法对AGV 运行路径进行建模,简化运输环...
基于群签名和同态加密的多敏感属性数据重发布隐私保护方法
摘 要: 为了确保数据共享、利用的同时,保护个人隐私不被泄露,提出一种基于群签名和同态加密的多敏感属性数据重发布隐私保护方法。在构建的基于群签名和同态加密的多敏感属性数据重发布隐私保护方案模型下,初始化阶段产生群公钥、群私钥后,由可信第三...

航空航天航海技术

改进YOLOv8的恶劣天气下船舶目标检测算法研究
摘 要: 针对现有内河航道中由于雨、雪、雾等恶劣天气导致的船只检测困难问题,提出一种基于YOLOv8 的航道船舶目标检测方法,即 YoLov8–Ship 。该算法设计一种特征聚焦扩散金字塔网络,融合 YOLOv9 中的ADown 模块,使...

能源技术

基于模式搜索的粒子群优化光伏MPPT 控制研究
摘 要: 光伏发电系统的输出功率具有显著的非线性特性,且易受辐照度、温度等环境因素扰动,导致功率输出不稳定。现有的最大功率点跟踪(MPPT)技术在动态环境下的追踪精度与响应速度仍存在不足。为此,提出一种基于模式搜索与粒子群优化(PSO)相...
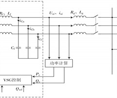
基于虚拟同步机的储能变流器控制策略研究
摘 要: 虚拟同步发电机(VSG)技术是一种先进的控制策略,其通过模仿同步发电机(SG)的动态性能,包括有功功率的频率调节和无功功率的电压控制等内在特性,从而使储能系统中的变流器能够展示出与传统同步发电机相仿的外在电气行为。该技术使得储能...
基于多源信息熵融合的局部放电模式识别方法
摘 要: 局部放电与气体绝缘开关设备(GIS)的绝缘劣化程度密切相关,准确识别局部放电的类型对保障电网的安全运行具有重要意义。针对单一图谱识别模式在局部放电模式识别任务中的局限性,提出一种多源信息熵融合的局部放电识别方法。首先,搭建GIS...

激光与红外技术

基于点云识别与参数化建模的残缺物体重建方法
摘 要: 激光扫描点云技术虽已广泛应用于三维建模领域,但也普遍存在部位缺失的问题,导致难以重建高精度实体模型;同时现有的建模方法成本高昂,且面对实际工业场景中大批量同类型模型时人力资源消耗过大。虽然模型库替换方案能提升效率,但其生成的模型...
可见光和红外热像仪融合下运动目标跟踪方法
摘 要: 在复杂的图像场景(如噪声干扰、目标部分遮挡或者背景纹理干扰)下,通过计算得到的矩可能会受到影响,从而导致确定的特征点中心不准确,影响运动目标跟踪效果,故提出一种可见光和红外热像仪融合下的运动目标跟踪方法。通过红外热像仪获取初始运...

前沿交叉科学

面向舆论情感识别的自然语言处理技术
摘 要: 为提高舆情风险预测的准确性和效率,提出一种基于注意力机制与双向长短期记忆(BiLSTM)网络相结合的舆情感知模型。该方法通过结合BiLSTM 的双向建模能力与注意力机制的特征聚焦能力,精准捕捉舆论数据中的情感波动和上下文语义特征...
基于 K⁃Means、XGBoost和PSO的高炉布料矩阵优化研究
摘 要: 优化布料矩阵是实现高炉节能降碳的关键环节,然而现有研究对布料矩阵与燃料消耗参数的映射关系尚未充分揭示。为此,提出一种基于K?Means 聚类、极端梯度提升(XGBoost)和粒子群优化(PSO)算法的高炉布料矩阵优化方法。首先,...
基于 STRS⁃YOLO和OpenPose的跌倒检测算法研究
摘 要: 社会老龄化加剧使得跌倒事故成为老年人群突出的健康威胁。实现跌倒行为的精准检测对预防伤害、提升生活质量具有重要意义。当前跌倒检测技术受环境干扰(如光照变化、复杂背景等)影响,存在识别准确率不足的问题。针对传统方法在复杂细节捕捉、跌...
基于短序列时间卷积网络的电梯故障诊断方法
摘 要: 电梯故障可能会导致资源和财产损失,还可能引发严重的安全问题。而故障诊断技术可以及时发现并诊断故障,防止受损设备继续运行。神经网络模型在进行振动信号的故障诊断方面有较好性能,但实时性方面仍有不足。针对电梯轿厢的振动信号故障诊断准确...

人工智能

基于AR 的机器人远程手势遥操作系统开发
摘 要: 增强现实(AR)技术通过提供沉浸式感知和虚实融合交互接口,在工业机器人远程遥操作与示教领域展现出显著优势。针对复杂工作环境下机器人交互性差、编程效率低等问题,基于Unity3D 开发环境,设计了一套AR 驱动的机器人远程手势遥操...
基于 Pix2PixHD 和 Star⁃CAA⁃YOLOv8 的双端故障行波定位方法
摘 要: 针对传统故障行波法应用在输电线路中,采样设备的采样频率较低、定位精度不高的问题,提出一种结合对抗生成网络与神经网络的双端行波故障定位算法。该方法利用小波变换提取故障行波低采样率下的初始波头时域特征,以图像的形式输入Pix2Pix...
面向开源视频的深度学习情报分析系统设计与实现
摘 要: 针对传统视频情报分析中信息提取效率低下的问题,设计一种基于深度学习的人机交互式视频情报分析系统,以满足快速提取大量视频关键情报的需求。系统框架围绕数据采集、存储、处理及应用进行分层设计,采用组件化设计实现功能模块的独立运行,并集...
一种新的深度学习信号调制方式自动识别算法研究
摘 要: 调制方式自动识别(AMR)基于深度学习(DL)的方法AMR?DL 是当前信号调制方式识别领域的研究热点。然而,低信噪比(SNR)条件下的调制信号以及深度学习网络参数量过大会显著降低AMR?DL 的识别准确率和计算效率。针对这两个...
相关杂志
  • 中国商论

    中国商论

    2025年20期
    ¥17.49
  • 中外建筑

    中外建筑

    2025年08期
    ¥9.90
  • 河南科技

    河南科技

    2025年18期
    ¥6.00
  • 海洋开发与管理

    海洋开发与管理

    2025年04期
    ¥21.69
  • 计算机应用文摘

    计算机应用文摘

    2025年20期
    ¥9.00
  • 社会科学研究

    社会科学研究

    2025年05期
    ¥9.00
  • 现代信息科技

    现代信息科技

    2025年16期
    ¥18.00
  • 湖南大学学报(社会科学版)

    湖南大学学报(社会科学版)

    2025年05期
    ¥12.00
  • 中国调味品

    中国调味品

    2025年10期
    ¥0.00
  • 计算技术与自动化

    计算技术与自动化

    2025年03期
    ¥10.89
  • 民主与科学

    民主与科学

    2025年04期
    ¥3.39
  • 早期教育(教育科研)

    早期教育(教育科研)

    2025年09期
    ¥9.00
订阅全年后,您可享受以下权益
①该本杂志即日起至未来1年内所有更新电子版杂志的使用权限;
②赠送该杂志的部分往期的杂志的使用权限,有效期1年。

全年订购价格: ¥288.00

订阅全年
--%>

登录龙源期刊网

温馨提示:

1.点击网站右上角的“充值”按钮可以为您的账号充值

2.充值金额可以选择30,50,100或500元

3.充值成功后即可购买网站上的任意杂志或文章

还没有龙源账户? 立即注册

购买杂志

现代电子技术

杂志价格:¥12.00元

  • 微信扫码支付
  • 当前余额:100.00

购买杂志

现代电子技术

杂志价格:¥12.00元

  • 微信扫码支付
  • 当前余额:¥100.00

    去充值
monitor
客服机器人